H12W-64P内螺纹直通单向阀的功能是用来防止管路中的介质倒流。单向阀属于自动阀类,启闭件靠流动介质的力量自行开启或关闭。单向阀只用于介质单向流动的管路上,阻止介质回流。
产品参数
产品型号 | H12W-64P |
阀体材质 | 304不锈钢 |
公称压力 | ≤6.4Mpa |
适用介质 | 水、气、油品等 |
适用温度 | ≤150℃ |
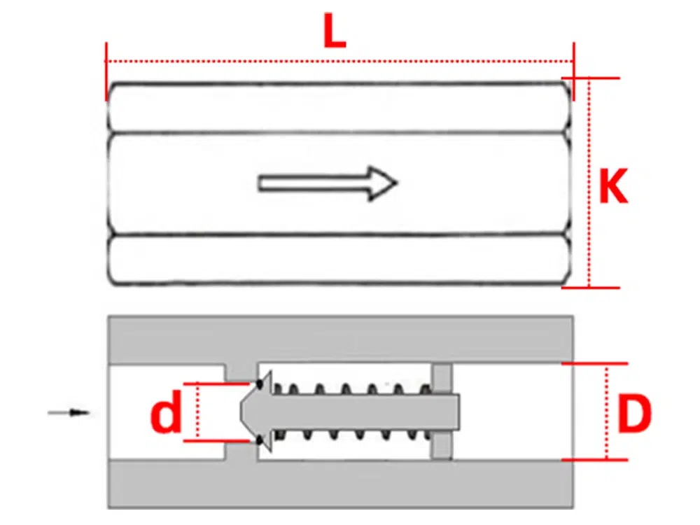
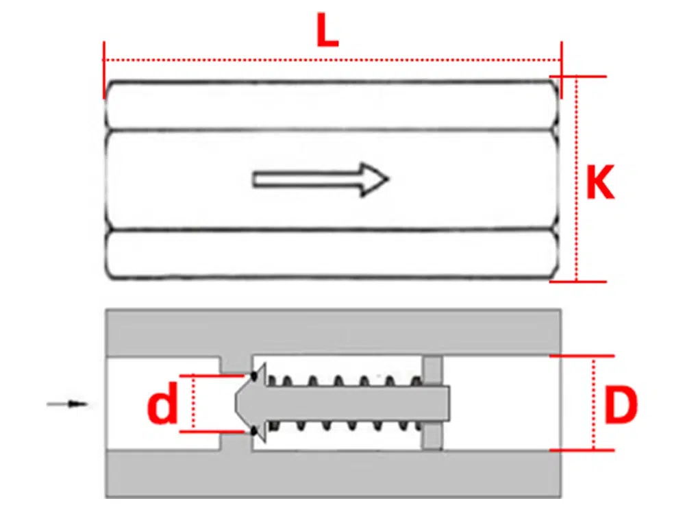
产品尺寸参考

通径 | 英寸 | D | L | d | K |
DN6 | 1/8 | 8.8 | 49 | 6 | 17 |
DN8 | 1/4 | 11.5 | 49 | 6 | 17 |
DN10 | 3/8 | 15.2 | 54 | 6 | 22 |
DN15 | 1/2 | 19.1 | 59 | 10 | 27 |
DN20 | 3/4 | 24.1 | 64 | 14 | 30 |
DN25 | 1 | 30.7 | 76 | 19 | 38 |














