Y43H蒸汽减压阀通过调节弹簧压力设定出口压力、利用膜片传感出口压力变化,通过导阀启闭驱动活塞调节主阀节流部位过流面积的大小,实现减压稳压功能,该产品主要用于蒸汽管路,起减压稳压作用。
产品特点
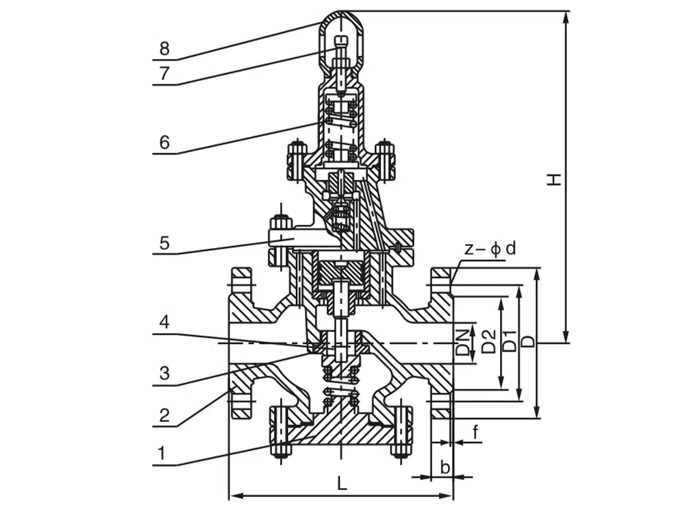
减压阀属于先导活塞式减压阀,由主阀和导阀两部分组成。主阀主要由阀座、主阀盘、活塞、弹簧等零件组成。导阀主要由阀座、阀瓣、膜片、弹簧、调节弹簧等零件组成。本产品在普通减压阀基础上作了很大改进,加大了活塞面积,改变了节流结构,改变了密封形式,加大了过流面积等等,从而在提高灵敏度、流量、寿命等方面大大改善了性能。
产品参数
产品型号 | Y43H-16 |
阀体材质 | 灰铸铁 |
公称压力 | ≤1.6Mpa |
适用介质 | 空气、蒸汽等 |
适用温度 | ≤200℃ |
产品尺寸参考

通径 | L | D2 | D1 | D | H | b | f | Z-Φd |
DN20 | 160 | 55 | 75 | 105 | 312 | 16 | 2 | 4-14 |
DN25 | 180 | 65 | 85 | 115 | 318 | 16 | 2 | 4-14 |
DN32 | 200 | 78 | 100 | 135 | 320 | 18 | 3 | 4-18 |
DN40 | 220 | 85 | 110 | 145 | 325 | 18 | 3 | 4-18 |
DN50 | 250 | 100 | 125 | 160 | 335 | 20 | 3 | 4-18 |
DN65 | 280 | 120 | 145 | 180 | 365 | 20 | 3 | 4-18 |
DN80 | 310 | 135 | 160 | 195 | 385 | 22 | 3 | 8-18 |
DN100 | 310 | 155 | 185 | 215 | 385 | 24 | 3 | 8-18 |
DN100 | 350 | 155 | 185 | 215 | 385 | 24 | 3 | 8-18 |
DN125 | 400 | 185 | 210 | 245 | 425 | 26 | 3 | 8-18 |
DN150 | 450 | 210 | 240 | 280 | 445 | 26 | 3 | 8-23 |
DN200 | 450 | 265 | 295 | 335 | 515 | 30 | 3 | 12-23 |














