H44W-16T黄铜旋启式止回阀主要用于保护管道系统免受倒流和逆流的影响,确保流体的正常流动。适用于水、油品、气体等介质的管道系统中。其结构合理,密封性能可靠,使用和维护方便。同时,由于黄铜材质具有良好的耐腐蚀性和耐磨性,使得黄铜旋启式止回阀在恶劣环境下也能保持稳定的性能。广泛应用于中央空调系统、暖通系统、给排水、市政、高层建筑、化工、冶金、石油、制药、食品、饮料、环保等领域。
产品特点
- 用于给排水、消防、暖通、工业等系统。
- 能有效地减小水锤压力,密封性能好,关闭无噪声。
- 流体型水路内部附有导流体的设计能保证最小的压力损失。
- 安装于水泵出水口处可在水流倒流前先行快速关闭避免产生水锤、水击声和破坪性冲击以达到防止倒流和保护设备的目的。
产品参数
产品型号 | H44W-16T |
阀体材质 | 黄铜 |
公称压力 | ≤1.6Mpa |
适用介质 | 水、气、油品等 |
适用温度 | ≤120℃ |
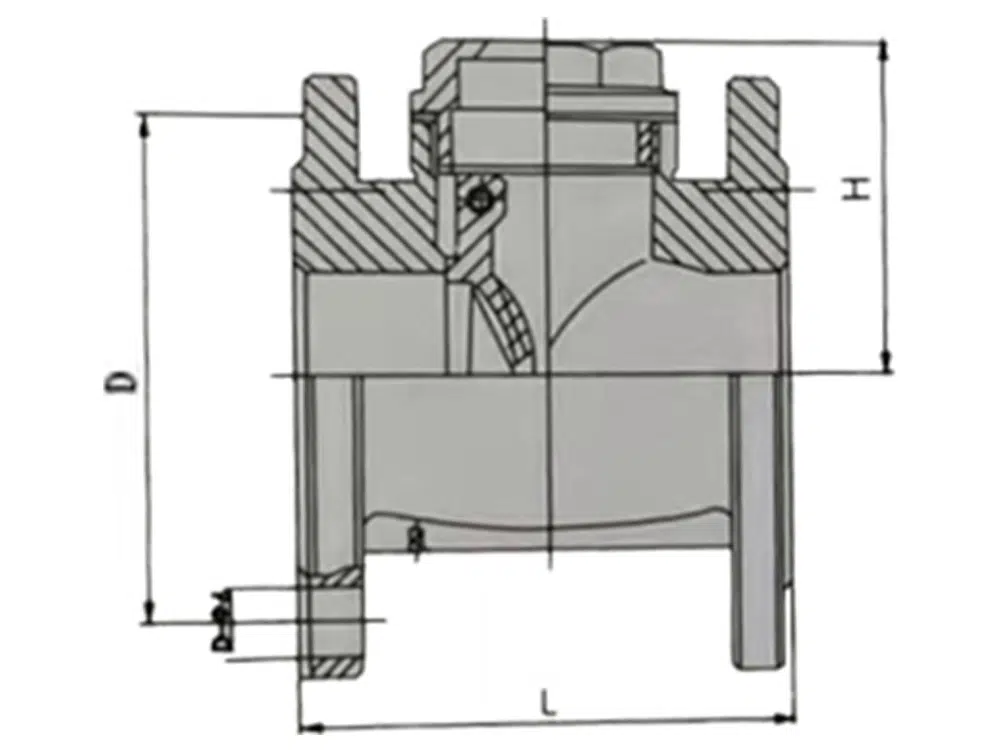
产品尺寸参考

通径 | L | D | H | n-φd |
DN40 | 132 | 110 | 75 | 4-18 |
DN50 | 144 | 125 | 80 | 4-18 |
DN65 | 161 | 145 | 90 | 4-18 |
DN80 | 184 | 160 | 105 | 8-18 |
DN100 | 210 | 180 | 115 | 8-18 |
DN125 | 237 | 210 | 130 | 8-18 |
DN150 | 263 | 240 | 160 | 8-23 |














