H41S-16Q卧立两用止回阀是一种能够防止介质倒流的阀门,其主要特点是耐高温、密封性好、安装简便、关闭速度快,并且能够消除水锤、噪声、流阻等问题。卧立两用止回阀可以在立式或卧式管道中安装,具有无泄漏的节能效果。广泛用于石油、化工、锅炉、印染、给排水等领域。
产品参数
产品型号 | H41S-16Q |
阀体材质 | 球墨铸铁 |
公称压力 | ≤1.6Mpa |
适用介质 | 水、蒸汽、油品等 |
适用温度 | ≤250℃ |
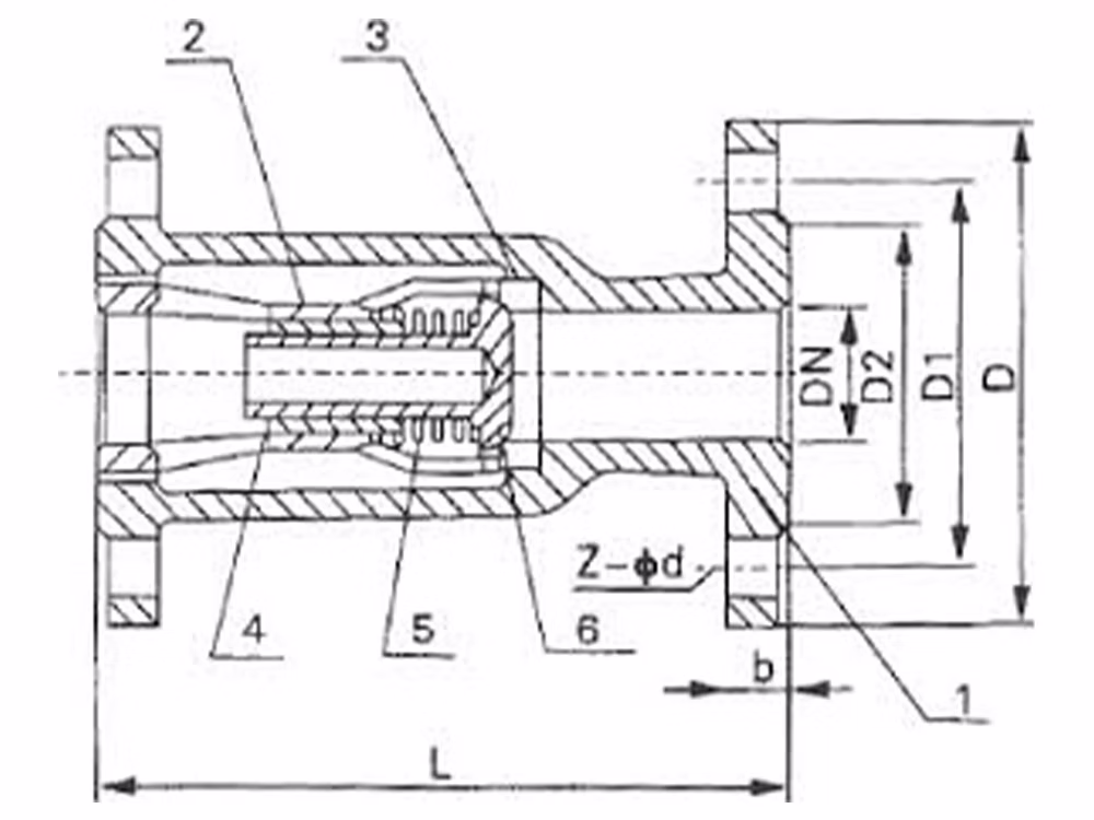
产品尺寸参考

DN | L | D | D1 | D2 | b | Z-Фd |
15 | 130 | 95 | 65 | 45 | 14 | 4-14 |
20 | 150 | 105 | 75 | 55 | 16 | 4-14 |
25 | 160 | 115 | 85 | 65 | 16 | 4-14 |
32 | 180 | 135 | 100 | 78 | 18 | 4-18 |
40 | 200 | 145 | 110 | 85 | 18 | 4-18 |
50 | 230 | 160 | 125 | 100 | 20 | 4-18 |
65 | 290 | 180 | 145 | 120 | 20 | 4-18 |
80 | 310 | 195 | 160 | 135 | 22 | 8-18 |
100 | 350 | 215 | 180 | 155 | 24 | 8-18 |
125 | 400 | 245 | 210 | 185 | 26 | 8-18 |
480 | 280 | 240 | 210 | 28 | 8-23 | |
200 | 600 | 335 | 295 | 265 | 30 | 12-23 |






















