GL41W-16T黄铜法兰过滤器是输送介质的管道系列不可缺少的一种装置,通常安装在减压阀、泄压阀、定水位阀或其它设备的进口端,用来消除介质中的杂质,以保护阀门及设备的正常使用。该过滤器具有结构紧凑,体形小、阻力小、安装检修方便、排污方便等特点。适用介质为水,油、气。当需要清洗时,只要将可拆卸的滤筒取出,去除滤出的杂质后,重新装入即可,使用维护极为方便。广泛应用于石油、化工、给排水、食品、制药、发电、造纸、城建、市政等领域。
产品参数
产品型号 | GL41W-16T |
阀体材质 | 黄铜 |
公称压力 | ≤1.6Mpa |
适用介质 | 水、气、油品等 |
适用温度 | ≤120℃ |
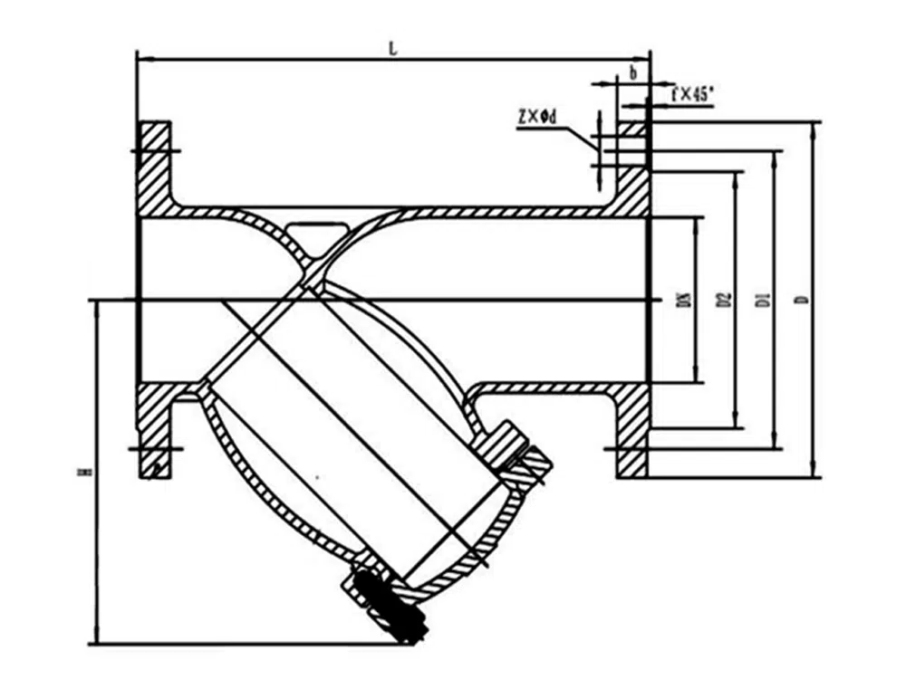
产品尺寸参考

通径 | L | D | D1 | D2 | b-f | Z-φd | H |
DN32 | 153 | 140 | 100 | 78 | 18-2 | 4-18 | 87 |
DN40 | 178 | 150 | 110 | 85 | 18-3 | 4-18 | 103 |
DN50 | 200 | 165 | 125 | 100 | 19-3 | 4-18 | 112 |
DN65 | 243 | 185 | 145 | 120 | 20-3 | 4-18 | 163 |
DN80 | 272 | 200 | 160 | 135 | 20-3 | 8-18 | 189 |
DN100 | 312 | 220 | 180 | 155 | 22-3 | 8-18 | 212 |
DN125 | 335 | 250 | 210 | 185 | 22-3 | 8-18 | 238 |
DN150 | 397 | 285 | 240 | 210 | 24-3 | 8-23 | 272 |
DN200 | 399 | 340 | 295 | 266 | 26-2 | 12-22 | 332 |






















