PPH旋启式止回阀是一种自动阀类,主要用于防止介质倒流,确保介质只能在一个方向流动。其工作原理是依靠介质正向流动时推动阀瓣打开,当介质倒流时,阀瓣在流体压力和自重的作用下关闭,从而切断流动。具有绿色环保、耐酸碱腐蚀、重量轻、密封性好、内壁光滑、摩擦系数小、输送效率高等特点。广泛应用于纯水和生饮水的管路系统、排水和污水管路系统、盐水和海水管路系统、酸碱和化学溶液系统等多个行业。
产品参数
产品型号 | H44S-10PPH |
阀体材质 | PPH |
公称压力 | ≤1.0Mpa |
适用介质 | 水、空气、弱酸碱液体等 |
适用温度 | ≤90℃ |
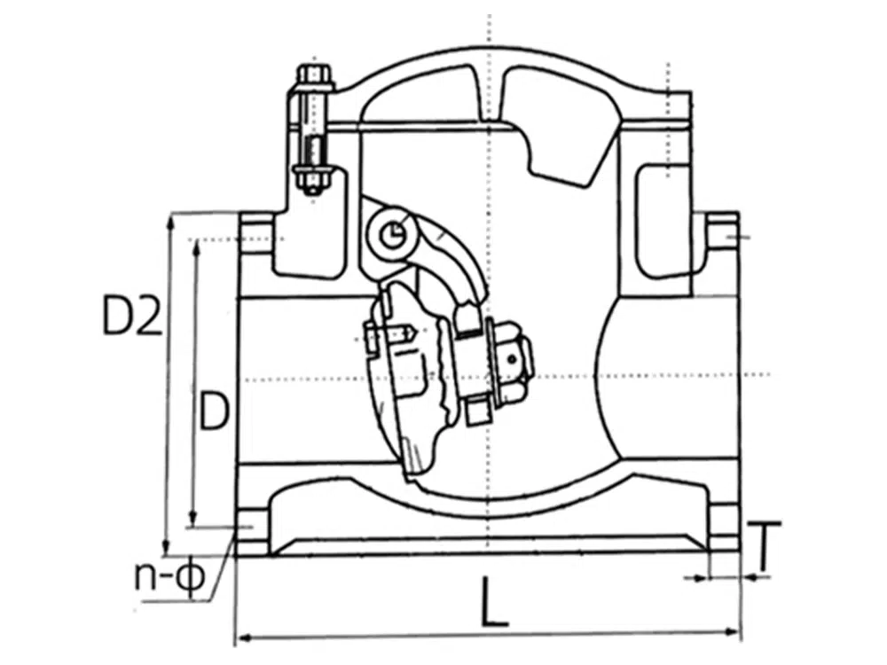
产品尺寸参考

通径 | L | D | D2 | T | n-Ф |
DN25 | 160 | 85 | 125 | 16 | 4-14 |
DN32 | 180 | 110 | 140 | 18 | 4-18 |
DN40 | 180 | 110 | 140 | 18 | 4-18 |
DN50 | 200 | 125 | 155 | 21 | 4-18 |
DN65 | 240 | 145 | 175 | 23 | 4-18 |
DN80 | 260 | 160 | 185 | 25 | 8-18 |
DN100 | 300 | 180 | 210 | 26 | 8-18 |
DN125 | 350 | 210 | 250 | 27 | 8-18 |
DN150 | 400 | 240 | 280 | 27 | 8-23 |
DN200 | 500 | 295 | 330 | 34 | 8-23 |
DN250 | 600 | 350 | 395 | 38 | 12-23 |
DN300 | 600 | 400 | 440 | 38 |






















