600X电动控制阀由主阀、电磁导阀、针阀、球阀、微形过滤器和压力表组成水力控制接管系统。通过电磁导阀可以实现对阀门开启和关闭的遥控。加装附加装置后,可控制开启和关闭的速度。电控水力控制阀利用导阀控制阀门的开启和关闭,节省能源。可代替其它阀门大型电动装置。电控水力控制阀产品用于高层建筑、生活区等供水管网系统及城市供水工程。600X电动控制阀是一种以电磁阀为向导阀的水力操作式阀门。常用于给排水及工业系统中的自动控制,控制反应准确快速,根据电信号遥控开启和关闭管路系统,实现远程操作。600X电动控制阀可取代闸阀和蝶阀用于大型电动操作系统。阀门关闭速度可调,平稳关闭而不产生压力波动。该阀门体积小、重量轻、维修简单、使用方便。电磁阀可选用交流电220V,或直流电24V,可根据场合选用常开或常闭型均可。
工作原理
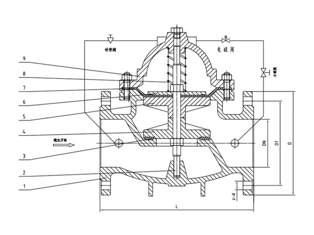
当阀门从阀前端给水时,水流流过针阀进入主阀控制室,当电磁导阀打开时,控制室内的水经电磁导阀、球阀流出。球阀开度大于针阀开度,主阀控制室内压力很低,主阀处于全开状态。当电磁导阀关闭时,主阀控制室的水不能流出,控制室升压,推动膜片关闭主阀。
产品参数
产品型号 | 600X-16Q |
阀体材质 | 球墨铸铁 |
控制形式 | 常开/常闭 |
可选电压 | AC220V/DC24V |
公称压力 | ≤1.6Mpa |
适用介质 | 水等 |
适用温度 | ≤80℃ |
产品尺寸参考

通径 | L | D | D1 | D2 | b | f | z-d |
DN40 | 215 | 150 | 110 | 88 | 18 | 3 | 4-18 |
DN50 | 215 | 165 | 125 | 102 | 18 | 3 | 4-18 |
DN65 | 230 | 185 | 145 | 122 | 18 | 3 | 4-18 |
DN80 | 255 | 200 | 160 | 138 | 20 | 3 | 8-18 |
DN100 | 290 | 220 | 180 | 158 | 20 | 3 | 8-18 |
DN125 | 285 | 250 | 210 | 188 | 22 | 3 | 8-18 |
DN150 | 365 | 285 | 240 | 212 | 22 | 3 | 8-22 |
DN200 | 430 | 340 | 295 | 268 | 24 | 3 | 12-22 |


















