Z41T dökme demir açık çubuk flanşlı sürgülü vana, açma ve kapama için nominal basınç ≤ 1.6MPa gaz, su, yağ ortamı boru hattında inşaat, çevre koruma, su temini ve drenaj ve diğer endüstriler için uygundur.
Ürün Özellikleri
- Kompakt yapı, makul tasarım, iyi valf sertliği, pürüzsüz kanal, küçük akış direnci katsayısı.
- Sızdırmazlık yüzeyi, uzun hizmet ömrü için bakır alaşımdan yapılmıştır.
- Esnek grafit ambalaj, güvenilir sızdırmazlık, hafif ve esnek çalışma benimsenmiştir.
Ürün Parametresi
Ürün Modeli | Z41T-16 |
Valf gövde malzemesi | gri dökme demir |
Valf malzemesi | Gri dökme demir kaplama pirinç |
Nominal basınç | ≤1,6Mpa |
Uygulanabilir ortam | Su, gaz, petrol, vb. |
Uygulanabilir sıcaklık | ≤120°C |
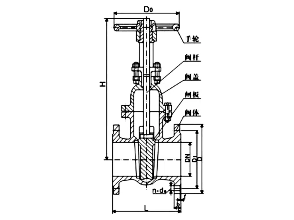
Ürün Boyut Referansı

bir cadde | L | D | D1 | n-d | D0 | H (≈) |
DN40 | 160 | 145 | 110 | 4-18 | 160 | 195~245 |
DN50 | 178 | 160 | 125 | 4-18 | 180 | 267~330 |
DN65 | 190 | 180 | 145 | 4-18 | 180 | 281~356 |
DN80 | 203 | 195 | 160 | 8-18 | 220 | 336~426 |
DN100 | 230 | 215 | 180 | 8-18 | 220 | 361~472 |
DN125 | 254 | 245 | 210 | 8-18 | 280 | 451~586 |
DN150 | 280 | 280 | 240 | 8-22 | 280 | 491~652 |
DN200 | 330 | 340 | 295 | 12-22 | 320 | 648~860 |
DN250 | 380 | 405 | 355 | 12-26 | 400 | 775~1040 |
DN300 | 420 | 460 | 410 | 12-26 | 400 | 946~1260 |
















