Z41H-16C çelik döküm flanşlı sürgülü vana, boru hattındaki akışkan ortamı bağlamak (tamamen açık) ve kesmek (tamamen kapalı) için kapının yukarı ve aşağı çalışmasını kullanan en yaygın açma ve kapama vanalarından biridir. Bu tür sürgülü vanalar su, kanalizasyon, inşaat, petrol, kimya, gıda, ilaç, tekstil, elektrik enerjisi, nakliye, metalurji, enerji sistemleri ve diğer vücut boru hatlarında regülatör ve durdurucu olarak yaygın olarak kullanılmaktadır.
Ürün Özellikleri
- Akışkan direnci küçüktür, aşındırma ve erozyon ortamı tarafından sızdırmazlık yüzeyi küçüktür (kapı açıklığı yüksekliği yüksektir).
- Daha güçlü açın, sızdırmazlık performansı iyidir, orta akış yönü kısıtlanmaz, akışı bozmaz, basıncı düşürmez.
- Basit şekil, iyi üretilebilirlik ve geniş uygulama yelpazesi.
Ürün Parametresi
Ürün Modeli | Z41H-16C |
Valf gövde malzemesi | dökme çelik |
Nominal basınç | ≤1,6Mpa |
Uygulanabilir ortam | Su, buhar, yağ vb. |
Uygulanabilir sıcaklık | ≤250°C |
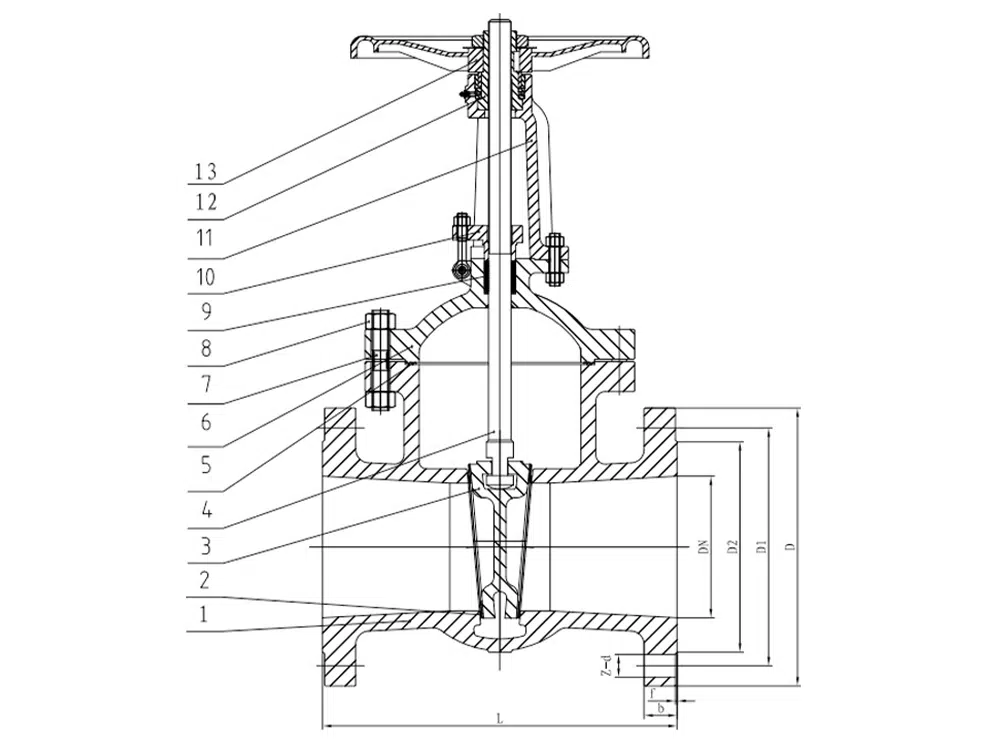
Ürün Boyut Referansı

bir cadde | L | D | D1 | D2 | b | f | z-d |
DN15 | 130 | 95 | 65 | 45 | 14 | 2 | 4-14 |
DN20 | 150 | 105 | 75 | 55 | 14 | 2 | 4-14 |
DN25 | 160 | 115 | 85 | 65 | 14 | 2 | 4-14 |
DN32 | 180 | 135 | 100 | 78 | 16 | 2 | 4-18 |
DN40 | 200 | 145 | 110 | 85 | 16 | 3 | 4-18 |
DN50 | 250 | 160 | 125 | 100 | 16 | 3 | 4-18 |
DN65 | 265 | 180 | 145 | 120 | 18 | 3 | 4-18 |
DN80 | 280 | 195 | 160 | 135 | 20 | 3 | 8-18 |
DN100 | 300 | 215 | 180 | 155 | 20 | 3 | 8-18 |
DN125 | 325 | 245 | 210 | 185 | 22 | 3 | 8-18 |
DN150 | 350 | 280 | 240 | 210 | 24 | 3 | 8-23 |
DN200 | 400 | 335 | 295 | 265 | 26 | 3 | 12-23 |
DN250 | 450 | 405 | 355 | 320 | 30 | 3 | 12-25 |
DN300 | 500 | 460 | 410 | 375 | 30 | 4 | 12-25 |
DN350 | 550 | 520 | 470 | 435 | 34 | 4 | 16-25 |
DN400 | 600 | 580 | 525 | 485 | 36 | 4 | 16-30 |
DN450 | 650 | 640 | 585 | 545 | 40 | 4 | 20-30 |
DN500 | 700 | 705 | 650 | 608 | 44 | 4 | 20-34 |
















