Çek valf veya çek valf olarak da bilinen H44T-16 döner çek valf, rolü boru hattındaki ortamın geri akışını önlemektir. Açma ve kapama parçaları, çek valf adı verilen orta geri akış valfini önlemek için ortam akışına ve açma veya kapama gücüne dayanır. Çek valf, esas olarak boru hattındaki ortamın tek yönlü akışı için kullanılan otomatik valf sınıfına aittir, kazaları önlemek için ortamın yalnızca bir yönde akmasına izin verir. Boru hattındaki bu tip vanalar genellikle yatay olarak monte edilmelidir. Salınımlı çek valf, dahili külbütör kolu salınım yapısını benimser, valfin tüm açma ve kapama parçaları valf gövdesinin içine monte edilir, valf gövdesine nüfuz etmez, sızdırmazlık contaları ve sızdırmazlık halkaları ile orta flanş parçalarına ek olarak, harici sızıntı noktaları yoktur, valf sızıntısı olasılığını ortadan kaldırır. Küresel bağlantı yapısı ile salınımlı çek valf külbütör kolu ve valf klapesi bağlantısı, böylece 360 derecelik aralıktaki valf klapesi belirli bir serbestlik derecesine sahiptir, temiz ortamın konumu için uygun miktarda telafi vardır, katı partiküller ve viskozite içeren ortamlar için kullanılmamalıdır.
Ürün Parametresi
Ürün Modeli | H44T-16 |
Valf gövde malzemesi | gri dökme demir |
Valf malzemesi | Gri dökme demir kaplama pirinç |
Nominal basınç | ≤1,6Mpa |
Uygulanabilir ortam | Su, gaz, petrol, vb. |
Uygulanabilir sıcaklık | ≤120°C |
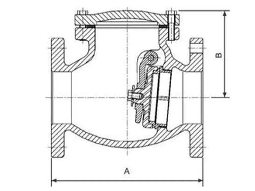
Ürün Boyut Referansı

bir cadde | A | B |
DN40 | 155 | 121 |
DN50 | 195 | 121 |
DN65 | 210 | 135 |
DN80 | 225 | 141 |
DN100 | 285 | 168 |
DN125 | 320 | 182 |
DN150 | 345 | 215 |
















