HQ11X丝扣球形止回阀又叫滚球式止回阀,内螺纹连接,Y型结构,内部密封件的橡胶球耐磨耐油,压力PN10~PN25,通径DN25~DN80。采用橡胶皮滚动球为阀瓣,在介质的作用下,可在阀体的整体式滑道上作上下滚动,从而打开或关闭阀门。具有密封性能好,消声式关闭,不产生水锤等特点。阀体采用全水流通道,流量大,阻力小,水头损失比旋启式小50%,水平安装或垂直安装均可。可用于冷水、热水、工业及生活污水管网,更适合潜水排污泵,介质温度0~80℃。
Ürün Parametresi
Ürün Modeli | HQ11X-16Q |
Valf gövde malzemesi | sfero döküm |
Nominal basınç | ≤1,6Mpa |
Uygulanabilir ortam | su ve benzeri |
Uygulanabilir sıcaklık | ≤80°C |
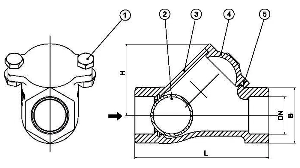
Ürün Boyut Referansı

bir cadde | BOYUT | L | B | H |
DN25 | 1 | 120 | 45 | 64 |
DN32 | 1-1/4 | 135 | 50 | 72 |
DN40 | 1-1/2 | 145 | 60 | 85 |
DN50 | 2 | 175 | 70 | 100 |
DN65 | 2-1/2 | 200 | 90 | 125 |
DN80 | 3 | 248 | 108 | 160 |
















