Y43H buhar basıncı düşürme valfi, çıkış basıncını ayarlamak için yay basıncını ayarlayarak, çıkış basıncı değişikliklerini algılayan diyaframın kullanımı, pilot valf açma ve kapama tahrik pistonu aracılığıyla aşırı akım alanının ana valf kısma kısmının boyutunu ayarlamak için, basınç düşürme ve stabilizasyon işlevini yerine getirmek için Ürün esas olarak buhar boru hatlarında, basıncı düşürmek ve basıncın rolünü stabilize etmek için kullanılır.
Ürün Özellikleri
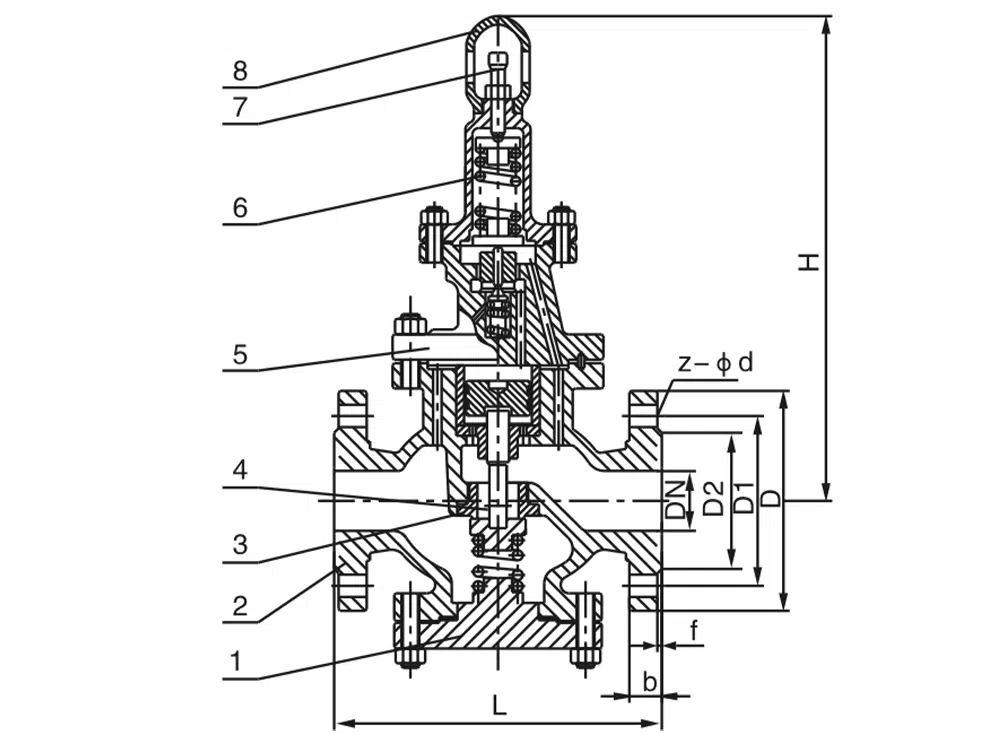
Basınç düşürme valfi, iki parçadan oluşan pilot kumandalı pistonlu tip basınç düşürme valfine aittir: ana valf ve pilot valf. Ana valf esas olarak valf yuvası, ana valf diski, piston, yay ve diğer parçalardan oluşur. Pilot valf esas olarak valf yuvası, valf diski, diyafram, yay, ayar yayı ve diğer parçalardan oluşur. Bu ürün, sıradan basınç düşürücü vanalar temelinde, piston alanını artırarak, gaz kelebeği yapısını değiştirerek, sızdırmazlık formunu değiştirerek, taşma alanını artırarak vb. büyük ölçüde geliştirilmiştir, böylece hassasiyeti, akış hızını, ömrü vb. artırma açısından performansı büyük ölçüde iyileştirmiştir.
Ürün Parametresi
Ürün Modeli | Y43H-16C |
Valf gövde malzemesi | dökme çelik |
Nominal basınç | ≤1,6Mpa |
Uygulanabilir ortam | Hava, buhar, vb. |
Uygulanabilir sıcaklık | ≤200°C |
Ürün Boyut Referansı

bir cadde | L | D2 | D1 | D | H | b | f | Z-Φd |
DN20 | 160 | 55 | 75 | 105 | 312 | 16 | 2 | 4-14 |
DN25 | 180 | 65 | 85 | 115 | 318 | 16 | 2 | 4-14 |
DN32 | 200 | 78 | 100 | 135 | 320 | 18 | 3 | 4-18 |
DN40 | 220 | 85 | 110 | 145 | 325 | 18 | 3 | 4-18 |
DN50 | 250 | 100 | 125 | 160 | 335 | 20 | 3 | 4-18 |
DN65 | 260 | 120 | 145 | 180 | 365 | 20 | 3 | 4-18 |
DN80 | 310 | 135 | 160 | 195 | 385 | 22 | 3 | 8-18 |
DN100 | 350 | 155 | 185 | 215 | 385 | 24 | 3 | 8-18 |
DN125 | 400 | 185 | 210 | 245 | 425 | 26 | 3 | 8-18 |
DN150 | 450 | 210 | 240 | 280 | 445 | 26 | 3 | 8-23 |
DN200 | 500 | 265 | 295 | 335 | 515 | 30 | 3 | 12-23 |












