U41S-16C çelik döküm piston vanasının piston yüzeyi, yüksek hassasiyetli silindirik taşlama makinesi ile işlenir ve sızdırmazlık halkası, güçlü elastikiyete ve yüksek aşınma direncine sahip yeni toksik olmayan sızdırmazlık malzemesinden yapılmıştır, bu nedenle sızdırmazlık güvenilir ve dayanıklıdır, bu da piston vanasının hizmet ömrünü uzatır. Flanşlı pistonlu vana standardı Amerikan Standardı, Japon Standardı, Ulusal Standart ve benzerlerine göre işlenebilir. Buhar boru hattına monte edilen, gövde alanında sızıntı olmayan, kazan buhar boru hattında yaygın olarak kullanılan vanalardan biridir. Sıvı kaybı olmaması enerji verimliliğinin kullanımını iyileştirir, üretim ekipmanının güvenliğini artırır, bakım maliyetlerini ve sık bakımı azaltır, işletme maliyetlerini düşürür, aynı zamanda temiz ve güvenli bir çalışma ortamı sağlar.
Çalışma Prensibi
El çarkı döndüğünde, piston, valfin açma ve kapama işlevini tamamlamak için delik çerçevesinin ortasında yukarı ve aşağı hareket etmek üzere valf gövdesi tarafından tahrik edilir. Valf pistonu ve sızdırmazlık halkasında, rakor içindeki flanş cıvatalarını ayarlayarak, yanal kuvvet ve delik yüzeyindeki valf gövdesi tarafından üretilen sızdırmazlık halkası sıkıştırması ve pistonun dış çemberinin sızdırmazlığı, böylece valfin sızdırmazlığını sağlamak için.
Ürün Özellikleri
- Pistonlu vanayı açarken ve kapatırken, piston temas yüzeylerinde çok az aşınma ile conta boyunca yavaşça hareket eder.
- Sızdırmazlık halkası, güçlü elastikiyete ve yüksek aşınma direncine sahip yeni toksik olmayan sızdırmazlık malzemesinden yapılmıştır, bu nedenle sızdırmazlık güvenilir ve dayanıklıdır.
- Piston ile vanadaki sızdırmazlık halkası arasında bir geçme kullanılır, böylece vananın sızdırmazlığı sağlanır ve iç ve dış sızıntı ortadan kaldırılır.
- Kapatırken, akış yolunu kesmek için piston alt sızdırmazlık halkasına yerleştirilir; açarken, piston alt sızdırmazlık halkasından ayrılır, ancak dış dünyadan izole tutmak için hala üst sızdırmazlık halkasında gizlidir ve sızıntı meydana gelmez.
Ürün Parametresi
Ürün Modeli | U41S-16C |
Valf gövde malzemesi | dökme çelik |
Nominal basınç | ≤1,6Mpa |
Uygulanabilir ortam | Su, buhar, yağ vb. |
Uygulanabilir sıcaklık | ≤250°C |
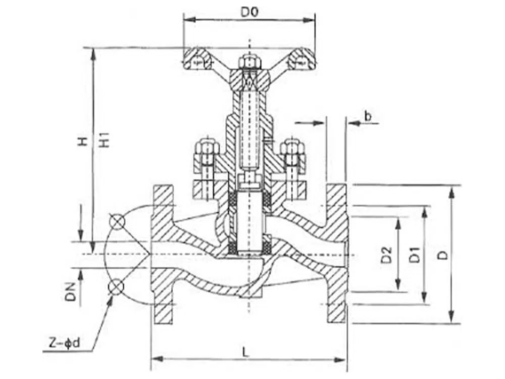
Ürün Boyut Referansı

DN | L | D | D1 | D2 | b | z-Φd | H | H1 | D0 |
15 | 130 | 95 | 65 | 45 | 14 | 4-14 | 116 | 144 | 85 |
20 | 150 | 105 | 75 | 55 | 16 | 4-14 | 142 | 176 | 85 |
25 | 160 | 115 | 85 | 65 | 16 | 4-14 | 163 | 205 | 100 |
32 | 180 | 135 | 100 | 78 | 18 | 4-18 | 182 | 227 | 120 |
40 | 200 | 145 | 110 | 85 | 18 | 4-18 | 210 | 260 | 140 |
50 | 230 | 160 | 125 | 100 | 20 | 4-18 | 230 | 286 | 160 |
65 | 290 | 180 | 145 | 120 | 20 | 4-18 | 250 | 310 | 180 |
80 | 310 | 195 | 160 | 135 | 22 | 8-18 | 269 | 340 | 200 |
100 | 350 | 215 | 180 | 155 | 24 | 8-18 | 278 | 356 | 240 |
125 | 400 | 245 | 210 | 185 | 26 | 8-18 | 332 | 440 | 375 |
150 | 480 | 280 | 240 | 210 | 28 | 8-23 | 434 | 562 | 375 |
200 | 600 | 335 | 295 | 265 | 30 | 12-23 | 498 | 660 | 460 |
250 | 700 | 405 | 355 | 320 | 38 | 12-23 | 540 | 660 | 460 |
300 | 750 | 460 | 410 | 360 | 38 | 12-23 | 650 | 680 | 460 |












