Van giảm áp piston bằng thép không gỉ 304 điều chỉnh lưu lượng chất lỏng bằng cách điều chỉnh độ mở của bộ phận đóng mở bên trong thân van, từ đó giảm áp suất của chất lỏng. Van giảm áp cũng sử dụng áp suất sau van để điều chỉnh độ mở của bộ phận đóng mở, giữ áp suất sau van trong một phạm vi nhất định. Khi áp suất đầu vào thay đổi liên tục, van giảm áp piston bằng thép không gỉ 304 duy trì áp suất đầu ra trong phạm vi cài đặt, bảo vệ các thiết bị sinh hoạt và sản xuất phía sau.
Thông số kỹ thuật sản phẩm
Mẫu sản phẩm | Y13X-16P |
Vật liệu thân van | Thép không gỉ 304 |
Áp suất danh nghĩa | ≤1,6 MPa |
Phương tiện áp dụng | Nước, v.v. |
Nhiệt độ thích hợp | ≤80℃ |
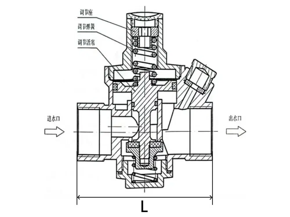
Tham khảo kích thước sản phẩm

đường kính | inch | L |
DN15 | 1/2 | 73 |
DN20 | 3/4 | 79 |
DN25 | 1 | 79 |
DN32 | 1-1/4 | 91 |
DN40 | 1-1/2 | 105 |
DN50 | 2 | 114 |















