Van giảm áp hơi Y43H điều chỉnh áp suất đầu ra bằng cách điều chỉnh áp suất lò xo, sử dụng màng cảm biến để phát hiện sự thay đổi áp suất đầu ra, thông qua van điều khiển để mở/đóng và điều chỉnh piston, từ đó điều chỉnh diện tích lưu thông của bộ phận tiết lưu van chính, thực hiện chức năng giảm áp và ổn định áp suất. Sản phẩm này chủ yếu được sử dụng trong đường ống hơi, có tác dụng giảm áp và ổn định áp suất.
Đặc điểm sản phẩm
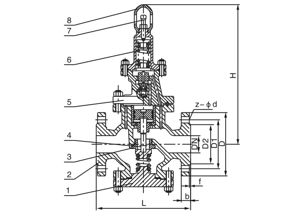
Van giảm áp thuộc loại van giảm áp piston dẫn hướng, bao gồm hai phần chính là van chính và van dẫn hướng. Van chính chủ yếu bao gồm các bộ phận như đế van, đĩa van chính, piston, lò xo, v.v. Van dẫn chủ yếu bao gồm các bộ phận như đế van, cánh van, màng, lò xo, lò xo điều chỉnh, v.v. Sản phẩm này đã được cải tiến đáng kể so với van giảm áp thông thường, tăng diện tích piston, thay đổi cấu trúc tiết lưu, thay đổi hình thức làm kín, tăng diện tích dòng chảy, v.v., từ đó cải thiện đáng kể các tính năng như độ nhạy, lưu lượng, tuổi thọ, v.v.
Thông số kỹ thuật sản phẩm
Mẫu sản phẩm | Y43H-16C |
Vật liệu thân van | thép đúc |
Áp suất danh nghĩa | ≤1,6 MPa |
Phương tiện áp dụng | Không khí, hơi nước, v.v. |
Nhiệt độ thích hợp | ≤200℃ |
Tham khảo kích thước sản phẩm

đường kính | L | D2 | D1 | D | H | b | f | Z-Φd |
DN20 | 160 | 55 | 75 | 105 | 312 | 16 | 2 | 4-14 |
DN25 | 180 | 65 | 85 | 115 | 318 | 16 | 2 | 4-14 |
DN32 | 200 | 78 | 100 | 135 | 320 | 18 | 3 | 4-18 |
DN40 | 220 | 85 | 110 | 145 | 325 | 18 | 3 | 4-18 |
DN50 | 250 | 100 | 125 | 160 | 335 | 20 | 3 | 4-18 |
DN65 | 260 | 120 | 145 | 180 | 365 | 20 | 3 | 4-18 |
DN80 | 310 | 135 | 160 | 195 | 385 | 22 | 3 | 8-18 |
DN100 | 350 | 155 | 185 | 215 | 385 | 24 | 3 | 8-18 |
DN125 | 400 | 185 | 210 | 245 | 425 | 26 | 3 | 8-18 |
DN150 | 450 | 210 | 240 | 280 | 445 | 26 | 3 | 8-23 |
DN200 | 500 | 265 | 295 | 335 | 515 | 30 | 3 | 12-23 |














