600X elektrikli kontrol vanası, hidrolik kontrol alıcı sistemi oluşturmak için ana vana, elektromanyetik pilot vana, iğne vana, küresel vana, mikro filtre ve basınç göstergesinden oluşur. Elektromanyetik pilot vana sayesinde vananın açılması ve kapanması uzaktan kontrol edilebilir. Açma ve kapama hızı ek cihazlar eklenerek kontrol edilebilir. Elektrik kontrollü hidrolik kontrol valfleri, valfin açılıp kapanmasını kontrol etmek için pilot valfler kullanır ve enerji tasarrufu sağlar. Valfler için diğer büyük elektrikli cihazların yerini alabilir. Elektrik kontrollü hidrolik kontrol vanası ürünleri yüksek binalarda, yaşam alanlarında ve diğer su şebekesi sistemlerinde ve kentsel su temini projelerinde kullanılmaktadır. 600X elektrik kontrol vanası, pilot vana hidrolik olarak çalıştırılan vanalar olarak bir solenoid vanadır. Otomatik kontrolde su temini ve drenaj ve endüstriyel sistemlerde yaygın olarak kullanılan kontrol tepkisi, uzaktan çalıştırma elde etmek için boru sistemini açmak ve kapatmak için elektrik sinyali uzaktan kumandasına göre doğru ve hızlıdır. 600X elektrikli kontrol vanası, büyük elektrikli işletim sistemi için sürgülü vana ve kelebek vananın yerini alabilir. Valf kapanma hızı ayarlanabilir, basınç dalgalanması olmadan düzgün kapanır. Valfin boyutu küçük, ağırlığı hafif, bakımı basit ve kullanımı kolaydır. Solenoid valf AC 220V veya DC 24V ile kullanılabilir ve duruma göre normalde açık veya normalde kapalı tipte kullanılabilir.
Çalışma Prensibi
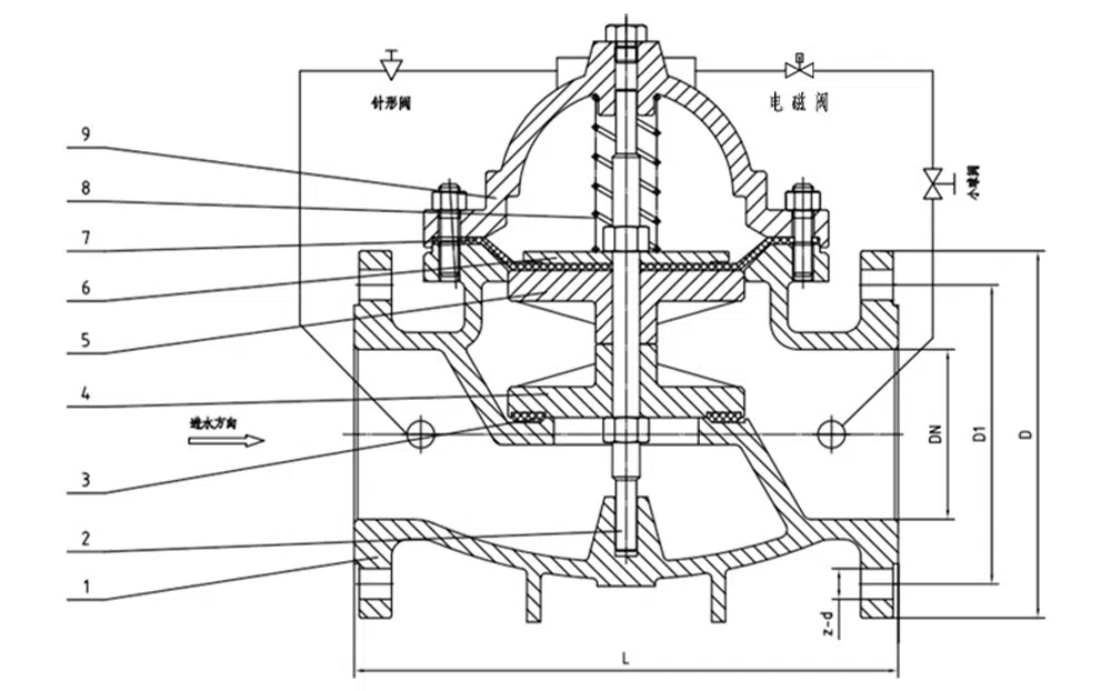
Vana, vananın ön ucundan beslendiğinde, su iğneli vanadan ana vana kontrol odasına akar ve solenoid pilot vana açıldığında, kontrol odasındaki su solenoid pilot vana ve küresel vanadan dışarı akar. Küresel vana açıklığı iğne vana açıklığından daha büyüktür, ana vana kontrol odası içindeki basınç çok düşüktür ve ana vana tamamen açık durumdadır. Elektromanyetik pilot valf kapatıldığında, ana valf kontrol odasındaki su dışarı akamaz, kontrol odası basıncı yükselir ve ana valfi kapatmak için diyaframı iter.
Ürün Parametresi
Ürün Modeli | 600X-16Q |
Valf gövde malzemesi | sfero döküm |
Kontrol biçimleri | Normalde Açık/Normalde Kapalı |
Seçilebilir Voltaj | AC220V/DC24V |
Nominal basınç | ≤1,6Mpa |
Uygulanabilir ortam | su ve benzeri |
Uygulanabilir sıcaklık | ≤80°C |
Ürün Boyut Referansı

bir cadde | L | D | D1 | D2 | b | f | z-d |
DN40 | 215 | 150 | 110 | 88 | 18 | 3 | 4-18 |
DN50 | 215 | 165 | 125 | 102 | 18 | 3 | 4-18 |
DN65 | 230 | 185 | 145 | 122 | 18 | 3 | 4-18 |
DN80 | 255 | 200 | 160 | 138 | 20 | 3 | 8-18 |
DN100 | 290 | 220 | 180 | 158 | 20 | 3 | 8-18 |
DN125 | 285 | 250 | 210 | 188 | 22 | 3 | 8-18 |
DN150 | 365 | 285 | 240 | 212 | 22 | 3 | 8-22 |
DN200 | 430 | 340 | 295 | 268 | 24 | 3 | 12-22 |
















