200X ayarlanabilir basınç düşürücü vana, boru hattı basıncını ayarlamak ve kontrol etmek için ortamın kendi enerjisini kullanan bir tür işlevsel su kontrol vanasıdır. 200X ayarlanabilir basınç düşürücü vana, can suyu temini, yangın suyu temini ve diğer endüstriyel su temin sistemlerinde kullanılır, basınç düşürücü pilot vanayı ayarlayarak ana vananın çıkış basıncını ayarlayabilir. Giriş basıncı ve giriş akış hızının değişmesi nedeniyle çıkış basıncı değişmez ve çıkış basıncını ayarlanan değerde güvenli ve güvenilir bir şekilde koruyabilir ve ayarlanan değer, basınç düşürme amacına ulaşmak için ihtiyaca göre ayarlanabilir. Vana, istikrarlı performans, güvenlik ve güvenilirlik, kolay kurulum ve uzun hizmet ömrü ile basıncı doğru bir şekilde düşürür.
Yapısal özellikler ve kullanımlar
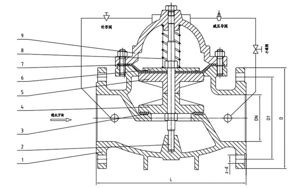
200X ayarlanabilir basınç düşürme valfi, bir hidrolik kontrol alıcı sistemi oluşturmak için ana valf, pilot valf, iğne valf, küresel valf, mikro filtre ve basınç göstergesinden oluşur. Kullanıldığında, çıkış basıncı ayarlandığında otomatik olarak sabit bir çıkış basıncını koruyabilir. Bu ürün, diğer cihazlar ve enerji olmadan, kolay bakım, yüksek basınç kontrolü doğruluğu, giriş basıncı ve küçük etkinin akış hızı, basınç düşürme ve basınç stabilizasyonu güvenilir olan pilot valf kendi kendini kontrolünü kullanır. Bu valf serisi, yüksek binalarda, yaşam alanlarında ve diğer su şebekesi sistemlerinde ve kentsel su temini projelerinde yaygın olarak kullanılmaktadır.
Çalışma Prensibi
Vana giriş tarafından beslendiğinde, su iğne vanadan ana vana kontrol odasına akar ve pilot vanaya kanal aracılığıyla çıkış basıncı uygulanır. Çıkış basıncı pilot vananın yay ayarından daha yüksek olduğunda pilot vana kapanır. Kontrol odasının boşalması durur, bu sırada ana vana kontrol odasındaki basınç yükselir ve ana vanayı kapatır ve çıkış basıncı artık yükselmez. Valf çıkış basıncı pilot valf yay ayar basıncına düştüğünde, pilot valf açılır ve kontrol odası aşağı yönde boşalır. Pilot valf sistemi iğne valf girişinden daha fazla su tahliye ettiğinden, ana valf kontrol odasındaki basınç düşer. Giriş basıncı ana vananın açılmasına neden olur. Kararlı durumda, kontrol odası girişi ve tahliyesi aynıdır, ana vana açıklığı sabittir ve çıkış basıncı sabittir. Çıkış basıncı pilot valf yayı ayarlanarak ayarlanabilir.
Ürün Parametresi
Ürün Modeli | 200X-16Q |
Valf gövde malzemesi | sfero döküm |
Nominal basınç | ≤1,6Mpa |
Uygulanabilir ortam | su ve benzeri |
Uygulanabilir sıcaklık | ≤80°C |
Ürün Boyut Referansı

bir cadde | L | D | D1 | D2 | b | f | z-d |
DN40 | 215 | 150 | 110 | 88 | 18 | 3 | 4-18 |
DN50 | 215 | 165 | 125 | 102 | 18 | 3 | 4-18 |
DN65 | 230 | 185 | 145 | 122 | 18 | 3 | 4-18 |
DN80 | 255 | 200 | 160 | 138 | 20 | 3 | 8-18 |
DN100 | 290 | 220 | 180 | 158 | 20 | 3 | 8-18 |
DN125 | 285 | 250 | 210 | 188 | 22 | 3 | 8-18 |
DN150 | 365 | 285 | 240 | 212 | 22 | 3 | 8-22 |
DN200 | 430 | 340 | 295 | 268 | 24 | 3 | 12-22 |
















