วาล์วประตูเหล็กหล่อเกลียว Z15H-16C ใช้แผ่นประตูเป็นองค์ประกอบปิด ซึ่งมีข้อดีเช่น แรงบิดในการทำงานต่ำ ความต้านทานของของไหลน้อย และติดตั้งได้หลายทิศทาง เมื่อแผ่นประตูเคลื่อนที่ในแนวตั้งฉากกับทิศทางการไหลของของไหล วาล์วประตูนี้เหมาะสำหรับตำแหน่งเปิดหรือปิดเท่านั้น ไม่สามารถใช้สำหรับการควบคุมหรือการปรับลดอัตราการไหลได้ใช้กันอย่างแพร่หลายในกระบวนการทางเคมี, น้ำมัน, ก๊าซธรรมชาติ, การก่อสร้าง, การผลิตเหล็ก, การป้องกันสิ่งแวดล้อม, การบำบัดน้ำ, การผลิตกระดาษ, ยา, การทำเหมืองแร่, ตัวทำละลาย, และอุตสาหกรรมอื่น ๆ อีกมากมาย.
คุณสมบัติของสินค้า
- ความต้านทานของของเหลวต่ำ
- แรงบิดที่จำเป็นสำหรับการเปิดและปิดนั้นค่อนข้างต่ำ
- เหมาะสำหรับใช้ในท่อเครือข่ายแบบวนซ้ำที่สื่อไหลในทั้งสองทิศทาง หมายความว่าทิศทางการไหลของสื่อไม่ถูกจำกัด
- เมื่อวาล์วเปิดเต็มที่ การกัดกร่อนของพื้นผิวซีลโดยตัวกลางการทำงานจะน้อยกว่าวาล์วลูกโลก
- โครงสร้างค่อนข้างเรียบง่าย พร้อมความสามารถในการผลิตที่ดี
- ความยาวเชิงโครงสร้างค่อนข้างสั้น
ข้อมูลจำเพาะของสินค้า
รุ่นสินค้า | Z15H-16C |
วัสดุของตัววาล์ว | เหล็กหล่อ |
ความดันตามชื่อ | ≤1.6 เมกะปาสคาล |
สื่อที่ใช้ได้ | น้ำ, แก๊ส, น้ำมัน, และผลิตภัณฑ์น้ำมัน, เป็นต้น |
อุณหภูมิในการทำงาน | ≤120°C |
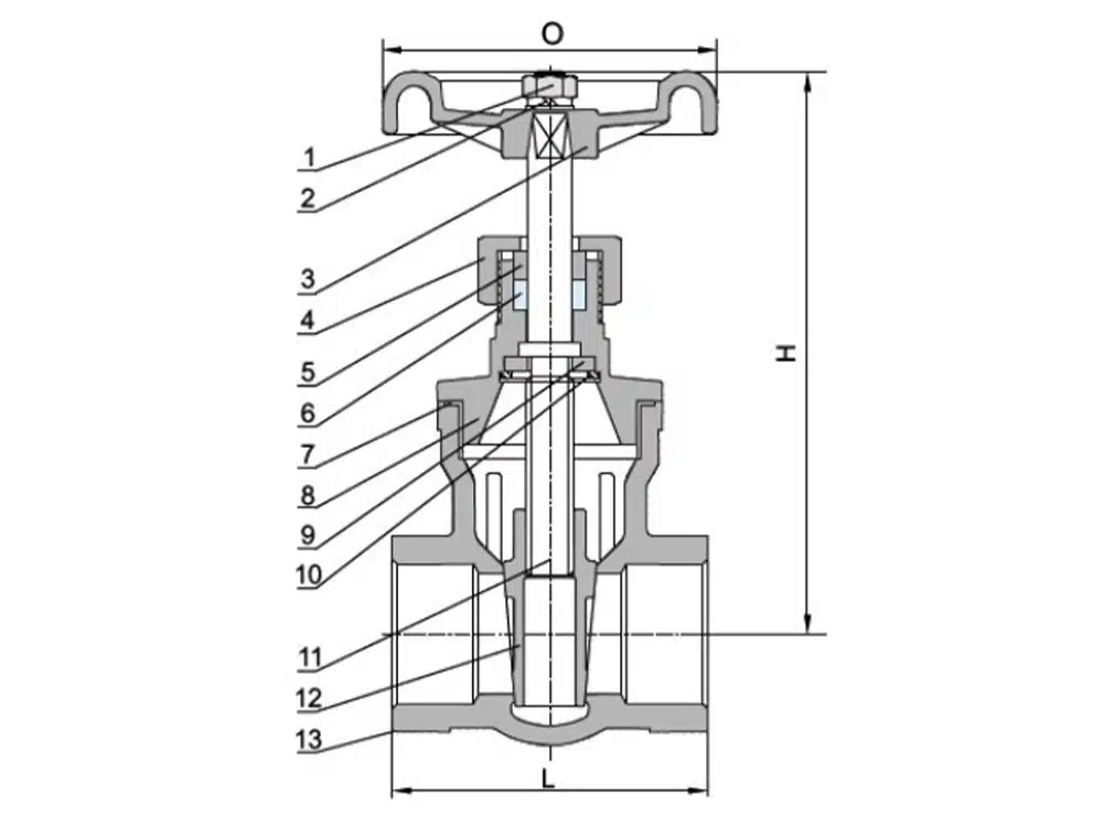
ขนาดอ้างอิงของผลิตภัณฑ์

บอร์ | ขนาด | L | O | H |
DN15 | 1/2 | 61.5 | 70 | 96 |
DN20 | 3/4 | 66 | 70 | 102 |
DN25 | 1 | 70 | 70 | 114 |
DN32 | 1-1/4 | 83 | 70 | 132 |
DN40 | 1-1/2 | 95 | 97 | 145 |
DN50 | 2 | 107 | 97 | 170 |
DN65 | 2-1/2 | 123 | 126 | 210 |
DN80 | 3 | 138 | 126 | 237 |
DN100 | 4 | 148 | 126 | / |


















