Латунный фланцевый фильтр GL41W-16T является незаменимым устройством в трубопроводах серии транспортировки среды, которое обычно устанавливается на входном конце редукционного клапана, клапана сброса давления, клапана уровня воды или другого оборудования для устранения примесей в среде, чтобы защитить нормальное использование клапанов и оборудования. Фильтр имеет компактную структуру, малые размеры, небольшое сопротивление, простоту установки и обслуживания, удобный дренаж и другие характеристики. Применимой средой является вода, нефть и газ. Когда требуется очистка, просто выньте съемный картридж фильтра, удалите отфильтрованные примеси и снова загрузите его, что очень удобно в использовании и обслуживании. Широко используется в нефтяной, химической, водопроводно-канализационной, пищевой, фармацевтической, энергетической, бумажной промышленности, городском строительстве, коммунальном хозяйстве и других областях.
Параметры продукта
Модель продукта | GL41W-16T |
Материал корпуса клапана | латунь |
Номинальное давление | ≤1.6Mpa |
Применяемая среда | Вода, газ, нефть и т.д. |
Применяемая температура | ≤120°C |
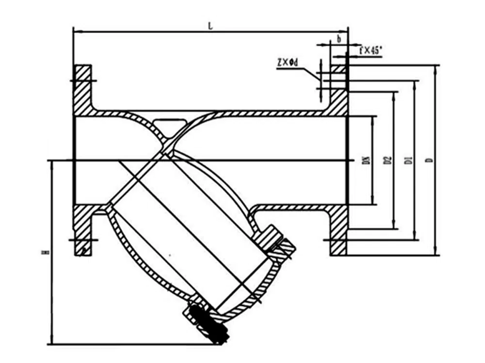
Справочник размеров изделий

проезжая часть | L | D | D1 | D2 | б-ф | Z-φd | H |
DN32 | 153 | 140 | 100 | 78 | 18-2 | 4-18 | 87 |
DN40 | 178 | 150 | 110 | 85 | 18-3 | 4-18 | 103 |
DN50 | 200 | 165 | 125 | 100 | 19-3 | 4-18 | 112 |
DN65 | 243 | 185 | 145 | 120 | 20-3 | 4-18 | 163 |
DN80 | 272 | 200 | 160 | 135 | 20-3 | 8-18 | 189 |
DN100 | 312 | 220 | 180 | 155 | 22-3 | 8-18 | 212 |
DN125 | 335 | 250 | 210 | 185 | 22-3 | 8-18 | 238 |
DN150 | 397 | 285 | 240 | 210 | 24-3 | 8-23 | 272 |
DN200 | 399 | 340 | 295 | 266 | 26-2 | 12-22 | 332 |














