Задвижка фланцевая стальная литая Z41H-16C - это один из самых распространенных видов открывающейся и закрывающейся арматуры, использующий работу затвора вверх и вниз для соединения (полностью открыта) и отсечения (полностью закрыта) текучей среды в трубопроводе. Такие задвижки широко используются в водопроводных, канализационных, строительных, нефтяных, химических, пищевых, медицинских, текстильных, электроэнергетических, судоходных, металлургических, энергетических системах и других органах трубопроводов в качестве регулятора и перехватчика.
Характеристики товара
- Сопротивление жидкости невелико, поверхность уплотнения под действием среды размыва и эрозии мала (высота открытия затвора высокая).
- Открывается мощнее, герметичность хорошая, направление потока среды не ограничено, не нарушает поток, не снижает давление.
- Простая форма, хорошая технологичность и широкий спектр применения.
Параметры продукта
Модель продукта | Z41H-16C |
Материал корпуса клапана | литая сталь |
Номинальное давление | ≤1.6Mpa |
Применяемая среда | Вода, пар, масло и т.д. |
Применяемая температура | ≤250°C |
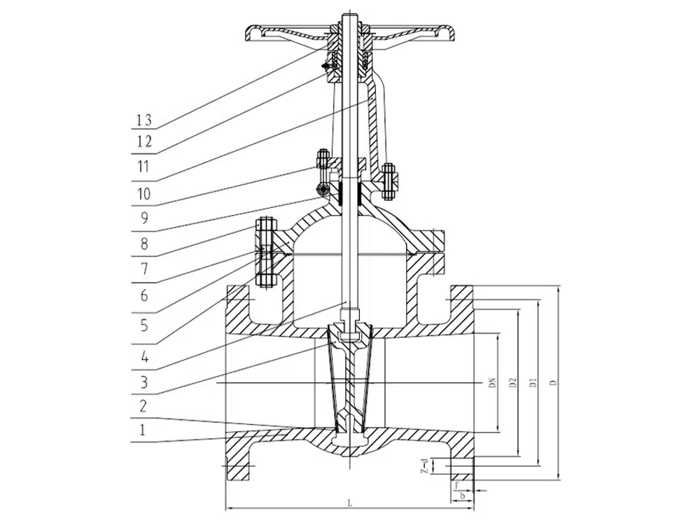
Справочник размеров изделий

проезжая часть | L | D | D1 | D2 | b | f | з-д |
DN15 | 130 | 95 | 65 | 45 | 14 | 2 | 4-14 |
DN20 | 150 | 105 | 75 | 55 | 14 | 2 | 4-14 |
DN25 | 160 | 115 | 85 | 65 | 14 | 2 | 4-14 |
DN32 | 180 | 135 | 100 | 78 | 16 | 2 | 4-18 |
DN40 | 200 | 145 | 110 | 85 | 16 | 3 | 4-18 |
DN50 | 250 | 160 | 125 | 100 | 16 | 3 | 4-18 |
DN65 | 265 | 180 | 145 | 120 | 18 | 3 | 4-18 |
DN80 | 280 | 195 | 160 | 135 | 20 | 3 | 8-18 |
DN100 | 300 | 215 | 180 | 155 | 20 | 3 | 8-18 |
DN125 | 325 | 245 | 210 | 185 | 22 | 3 | 8-18 |
DN150 | 350 | 280 | 240 | 210 | 24 | 3 | 8-23 |
DN200 | 400 | 335 | 295 | 265 | 26 | 3 | 12-23 |
DN250 | 450 | 405 | 355 | 320 | 30 | 3 | 12-25 |
DN300 | 500 | 460 | 410 | 375 | 30 | 4 | 12-25 |
DN350 | 550 | 520 | 470 | 435 | 34 | 4 | 16-25 |
DN400 | 600 | 580 | 525 | 485 | 36 | 4 | 16-30 |
DN450 | 650 | 640 | 585 | 545 | 40 | 4 | 20-30 |
DN500 | 700 | 705 | 650 | 608 | 44 | 4 | 20-34 |


















