H44T-16 айналмалы тексеру клапаны, сондай-ақ кері ағымды болдырмайтын клапан немесе кері ағымды тоқтатқыш деп те аталады, құбырлар ішіндегі ортаның кері ағымын болдырмауға арналған. Тексеру клапаны – бұл ағатын ортаның күшімен жабылатын элемент автоматты түрде ашылып немесе жабылатын құрылғы, ол кері ағымды болдырмайды. Автоматты клапан ретінде ол негізінен бір бағыттағы орта ағынын талап ететін құбыр желілерінде қолданылады, тек бір бағытта ағынға рұқсат етіп, ықтимал апаттардың алдын алу үшін. Мұндай клапан әдетте құбыржолдарда көлденең орнатылуы тиіс. Айналып ашылатын тексеру клапаны ішкі орнатылған рычагтық айналу механизмін пайдаланады, барлық жабу элементтері клапан корпусында орналасып, оны бұзбай кіреді. Орталық фланец аймағындағы тығыздағыш тығындар мен сақиналарды есептемегенде, бүкіл құрастыру сыртқы ағып кету нүктелерінен ада, бұл клапанның ағып кету мүмкіндігін жояды. Рокер білегі мен диск арасындағы қосылыс сфералық буын арқылы жүзеге асырылады, бұл дискке тиісті микро-орналасуды түзету арқылы 360° еркін қозғалыс мүмкіндігін береді. Таза ортаға арналған, қатты бөлшектер бар немесе жоғары тұтқырлыққа ие ортаға жарамсыз.
Өнімнің сипаттамалары
Өнім моделі | H44T-16 |
Валв корпусының материалы | Сұр құйма темірі |
Дисктің материалдары | Мыспен қапталған сұр шойын |
Номиналды қысым | ≤1,6 МПа |
Қолданылатын орта | су, газ, мұнай өнімдері және т.б. |
Жұмыс температурасы | ≤120°C |
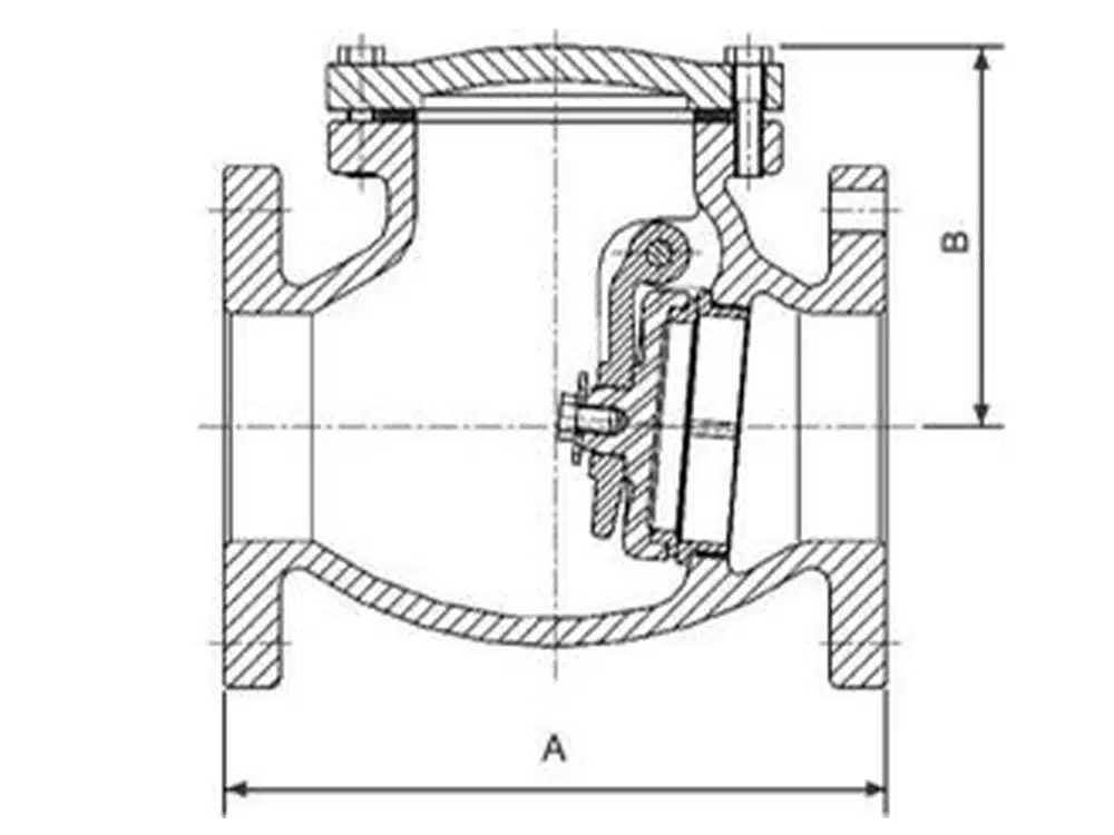
Өнім өлшемдеріне сілтеме

Бор | A | B |
DN40 | 155 | 121 |
DN50 | 195 | 121 |
DN65 | 210 | 135 |
DN80 | 225 | 141 |
DN100 | 285 | 168 |
DN125 | 320 | 182 |
DN150 | 345 | 215 |


















