U41S-16C құйма болаттан жасалған поршеньді клапанның поршень беті жоғары дәлдікті сыртқы цилиндрлік шлифмашинада өңделеді. Мөр сақинасы жоғары серпімділік пен тозуға төзімділік қасиеттері бар жаңа, улы емес тығыздаушы материалдан жасалған, бұл сенімді тығыздауды және ұзақ қызмет ету мерзімін қамтамасыз етіп, поршеньді клапанның қызмет ету мерзімін ұзартады. Фланецке орнатылатын поршеньді клапандарды американдық, жапондық немесе қытай ұлттық стандарттарға сәйкес өндіруге болады. Бу құбырларына орнатылғанда клапан штогында сұйық ағып кету нөлге тең, сондықтан олар қазандық бу жүйелерінде кеңінен қолданылады. Сұйық шығынының болмауы энергия тиімділігін арттырады, өндіріс жабдықтарының қауіпсіздігін арттырады, техникалық қызмет көрсету шығындары мен жиі қызмет көрсетуді азайтады, эксплуатациялық шығындарды төмендетеді және таза, қауіпсіз жұмыс ортасын қамтамасыз етеді.
Жұмыс істеу принципі
Қол доңғалағы айналдырылғанда құйылған болаттан жасалған поршеньді клапан поршеньді ойық жақтау ішінде тігінен алға-артқа қозғалту арқылы ашылып-жабылады. Клапан ішінде поршень мен тығыздағыш сақина арасында тығыз саңылаусыз қосылу қолданылады. Гландегі фланец болттарын реттеу арқылы тығыздағыш сақинаны сығымдаудан туындайтын бүйірлік күш клапан корпусының ойық беті мен поршеньнің сыртқы айналымы арасындағы тығыздықты қамтамасыз етіп, клапанның тығыздығын сақтайды.
Өнімнің сипаттамалары
- Плунжер клапанын ауыстырғанда, плунжер мөр сақинасының ішінде баяу қозғалып, жанасатын беттерінде іс жүзінде тозу байқалмайды.
- Мөр сақинасы жоғары серпімділік пен тозуға төзімділік қасиеттері бар жаңа, улы емес тығыздау материалынан жасалған, бұл сенімді тығыздауды және ерекше беріктілікті қамтамасыз етеді.
- Клапан поршень мен тығыздағыш сақина арасындағы интерференциялық сәйкестікті пайдаланады, осылайша клапанның тығыздығын қамтамасыз етіп, ішкі және сыртқы ағып кетуді жояды.
- Жабық күйінде поршень төменгі тығыздағыш сақинасына кіріп, ағын жолын бөгейді; ашық күйінде поршень төменгі тығыздағыш сақинасынан ажыраса да, жоғарғы тығыздағыш сақинасының ішінде жасырылып қалып, сыртқы ортадан оқшаулануды сақтайды және ағып кетудің алдын алады.
Өнімнің сипаттамалары
Өнім моделі | U41S-16C |
Валв корпусының материалы | қорытпа болат |
Номиналды қысым | ≤1,6 МПа |
Қолданылатын орта | Су, бу, мұнай өнімдері және т.б. |
Жұмыс температурасы | ≤250°C |
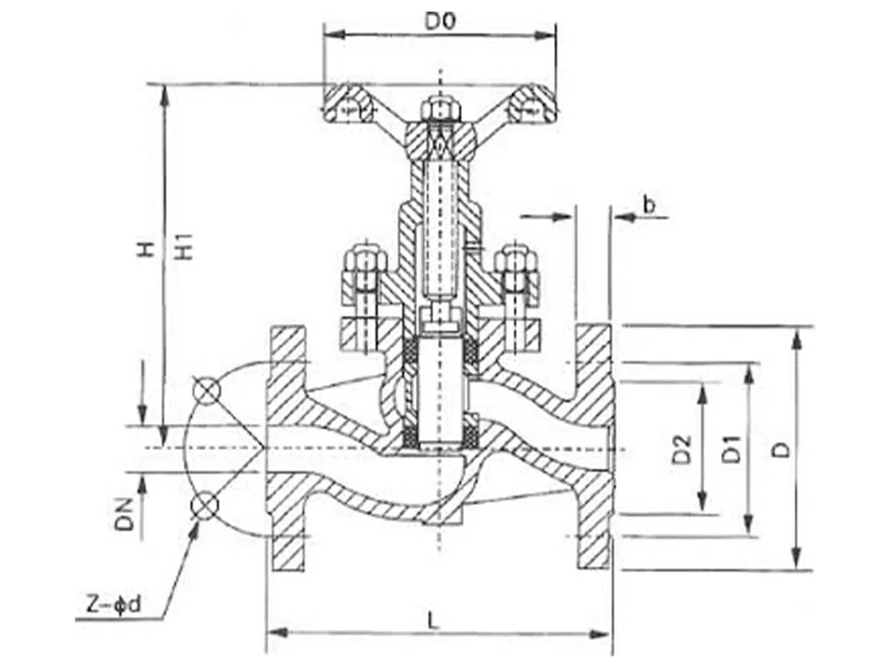
Өнім өлшемдеріне сілтеме

DN | L | D | 1-күн | D2 | b | z-Φd | H | H1 | D0 |
15 | 130 | 95 | 65 | 45 | 14 | 4-14 | 116 | 144 | 85 |
20 | 150 | 105 | 75 | 55 | 16 | 4-14 | 142 | 176 | 85 |
25 | 160 | 115 | 85 | 65 | 16 | 4-14 | 163 | 205 | 100 |
32 | 180 | 135 | 100 | 78 | 18 | 4-18 | 182 | 227 | 120 |
40 | 200 | 145 | 110 | 85 | 18 | 4-18 | 210 | 260 | 140 |
50 | 230 | 160 | 125 | 100 | 20 | 4-18 | 230 | 286 | 160 |
65 | 290 | 180 | 145 | 120 | 20 | 4-18 | 250 | 310 | 180 |
80 | 310 | 195 | 160 | 135 | 22 | 8-18 | 269 | 340 | 200 |
100 | 350 | 215 | 180 | 155 | 24 | 8-18 | 278 | 356 | 240 |
125 | 400 | 245 | 210 | 185 | 26 | 8-18 | 332 | 440 | 375 |
150 | 480 | 280 | 240 | 210 | 28 | 8-23 | 434 | 562 | 375 |
200 | 600 | 335 | 295 | 265 | 30 | 12-23 | 498 | 660 | 460 |
250 | 700 | 405 | 355 | 320 | 38 | 12-23 | 540 | 660 | 460 |
300 | 750 | 460 | 410 | 360 | 38 | 12-23 | 650 | 680 | 460 |














