AAV-16T мыс вакуумдық релиз-клапаны негізінен ыдыстар мен құбырларда қолданылады. Жүйенің жұмысы немесе тоқтатылуы кезінде құбыр ішіндегі немесе ыдыстағы теріс қысым немесе вакуум біртіндеп артқанда, бұл клапан вакуум әсеріне қарсы әрекет ету үшін автоматты түрде ашылады. Бұл құбыр мен оған қосылған жабдықтың құлап қалуы немесе ойылуы мен жарылуының алдын алып, жабдықтың бүтіндігін сақтайды. Сумен жабдықтау және кәріз жүйелерінде, құрғақ доктарда, электр станцияларында, металлургияда және кеме жасауда қолдануға жарамды және әртүрлі жұмыс жағдайларына бейімделген.
Өнімнің сипаттамалары
- Жоғары операциялық сенімділік оң қысым жағдайында су өткізбейтін тұтастықты қамтамасыз етеді, ал қақпақ табақшасы теріс қысым кезінде икемді болып қалады, бұл ауаны тез және мол мөлшерде толықтыруға мүмкіндік береді.
- Қолмен араласусыз толық автоматты түрде жұмыс істейді, қуат көзі ретінде атмосфералық қысымды пайдаланады және сыртқы қуат көзін қажет етпейді.
- Орнату қарапайым және ешқандай ұсақ-түйек реттеуді қажет етпейді; дұрыс жұмыс істеуін қамтамасыз ету үшін нұсқаулықты дәл орындаңыз.
Өнімнің сипаттамалары
Өнім моделі | AAV-16T |
Валв корпусының материалы | Мыс-қорытпа |
Қосылу әдісі | сыртқы жіп |
Номиналды қысым | ≤1,6 МПа |
Қолданылатын орта | су және т.б. |
Жұмыс температурасы | ≤80°C |
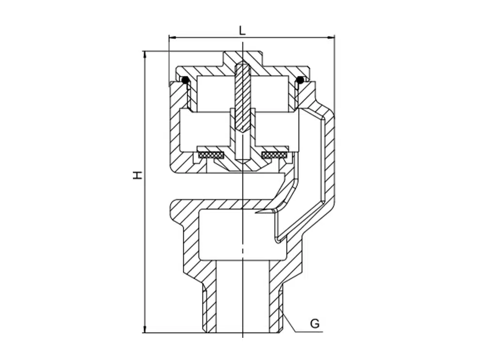
Өнім өлшемдеріне сілтеме

Бор | G | L | H |
DN15 | 1/2 | 42 | 66 |
DN20 | 3/4 | 42 | 66 |
DN25 | 1 | 43 | 67 |
DN32 | 1-1/4 | 50 | 76 |
DN40 | 1-1/2 | 63 | 75 |
DN50 | 2 | 70 | 75 |
DN65 | 2-1/2 | 86 | 88 |


















