D941X-16C электрлік фланецті көбелек клапаны біріктірілген құрылымға ие, ол қосу/өшіру басқару үшін AC220V немесе AC380V кернеу көзі арқылы жұмыс істей алады. Сонымен қатар, басқару модулін енгізу арқылы (4–20 мА DC немесе 1–5 В DC) басқару сигналдарын қабылдап, реттеуді модульдеуге болады. Бұл электрлік фланецті бабочка клапаны берік функционалдылықты, ықшам өлшемдерді, жеңіл конструкцияны, сенімді өнімділікті, қарапайым интеграцияны және жоғары өткізу қабілетін ұсынады. Ол тамақ өнімдерін өңдеу, қоршаған ортаны қорғау, жеңіл өнеркәсіп, мұнай, химиялық инженерия, білім беру мекемелері, қағаз өндіру және электр энергиясын өндіру сияқты салалардағы өнеркәсіптік үдерістерді автоматтандыру жүйелерінде кеңінен қолданылады.
Өнімнің сипаттамалары
- Инновациялық дизайн, рационалды құрылыс, ерекше құрылым, жеңіл салмақ және жылдам ашылу мен жабылу.
- Төмен жұмыс моменті, басқаруға оңай, күш жұмсамайтын және икемді.
- Кез келген күйде орнатылуы мүмкін және оны күтіп ұстау оңай.
- Манжеттер алмастырылатын, екі жақты тығыздау өнімділігін қамтамасыз етеді.
- Герметизациялық материалдар қартаюға төзімділік, жеңіл коррозияға шыдамдылық және ұзақ қызмет ету мерзімі сияқты қасиеттерге ие.
Өнімнің сипаттамалары
Өнім моделі | D941X-16C |
Валв корпусының материалы | қорытпа болат |
Клапан табақшасының материалы | Дуктульді темір/304 тот баспайтын болат |
Ішкі жағынан резеңке материалмен қапталған | EPDM |
Бақылау конфигурациясы | Ауыстыру түрі/Реттеу түрі |
Міндетті емес кернеу | АЦ 220В/АЦ 380В/Тұрақты ток 24В |
Номиналды қысым | ≤1,6 МПа |
Қолданылатын орта | су, газ, мұнай өнімдері және т.б. |
Жұмыс температурасы | ≤80°C |
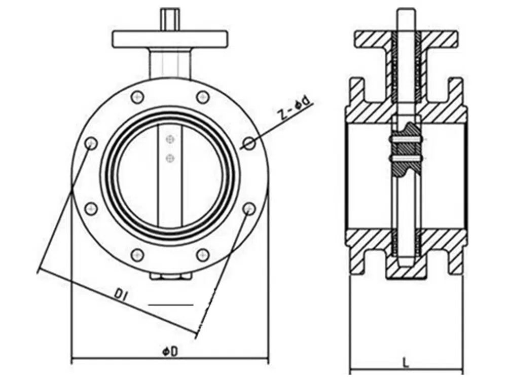
Өнім өлшемдеріне сілтеме

Бор | L | D | 1-күн | Z-Φd |
DN40 | 108 | 150 | 110 | 4-18 |
DN50 | 108 | 160 | 125 | 4-18 |
DN65 | 112 | 180 | 145 | 4-18 |
DN80 | 114 | 195 | 160 | 8-18 |
DN100 | 127 | 215 | 180 | 8-18 |
DN125 | 140 | 245 | 210 | 8-18 |
DN150 | 140 | 280 | 240 | 8-23 |
DN200 | 152 | 335 | 295 | 12-23 |
DN250 | 165 | 405 | 355 | 12-25 |
DN300 | 178 | 460 | 410 | 12-25 |
DN350 | 190 | 520 | 470 | 16-25 |
DN400 | 216 | 580 | 525 | 16-30 |
DN450 | 222 | 640 | 585 | 20-30 |
DN500 | 229 | 710 | 650 | 20-34 |
DN600 | 267 | 840 | 770 | 20-41 |














