Van bướm flange bằng gang Z41T có trục mở được sử dụng trong các ngành xây dựng, bảo vệ môi trường, cấp thoát nước, v.v., để đóng mở trên các đường ống dẫn khí, nước, dầu có áp suất danh định ≤1,6MPa.
Đặc điểm sản phẩm
- Cấu trúc gọn gàng, thiết kế hợp lý, van có độ cứng cao, đường dẫn thông thoáng, hệ số cản lưu lượng nhỏ.
- Mặt đệm được làm bằng hợp kim đồng, có tuổi thọ cao.
- Sử dụng vật liệu đệm bằng graphite mềm, đảm bảo độ kín khít, vận hành nhẹ nhàng và linh hoạt.
Thông số kỹ thuật sản phẩm
Mẫu sản phẩm | Z41T-16 |
Vật liệu thân van | Gang xám |
Vật liệu van | Đúc gang xám hàn đồng thau |
Áp suất danh nghĩa | ≤1,6 MPa |
Phương tiện áp dụng | Nước, khí, dầu mỏ, v.v. |
Nhiệt độ thích hợp | ≤120℃ |
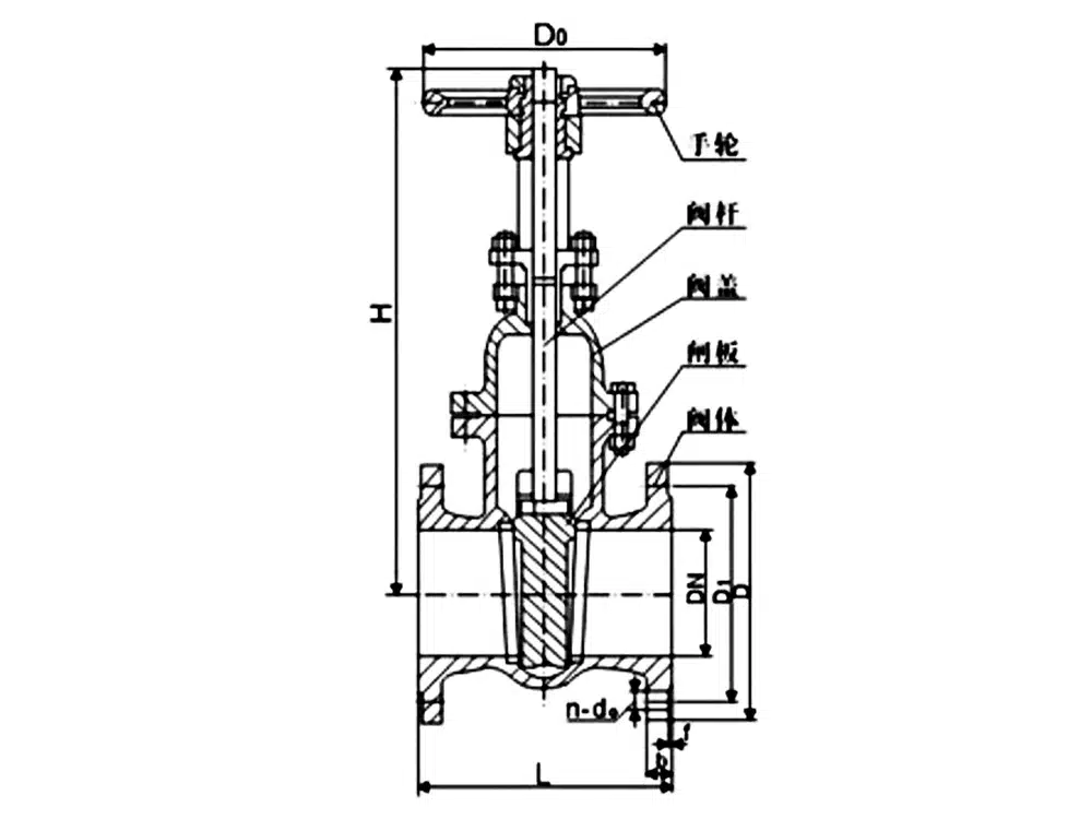
Tham khảo kích thước sản phẩm

đường kính | L | D | D1 | n-d | D0 | H (≈) |
DN40 | 160 | 145 | 110 | 4-18 | 160 | 195~245 |
DN50 | 178 | 160 | 125 | 4-18 | 180 | 267~330 |
DN65 | 190 | 180 | 145 | 4-18 | 180 | 281~356 |
DN80 | 203 | 195 | 160 | 8-18 | 220 | 336~426 |
DN100 | 230 | 215 | 180 | 8-18 | 220 | 361~472 |
DN125 | 254 | 245 | 210 | 8-18 | 280 | 451~586 |
DN150 | 280 | 280 | 240 | 8-22 | 280 | 491~652 |
DN200 | 330 | 340 | 295 | 12-22 | 320 | 648~860 |
DN250 | 380 | 405 | 355 | 12-26 | 400 | 775~1040 |
DN300 | 420 | 460 | 410 | 12-26 | 400 | 946~1260 |


















