JMZ15W-16T магнитный замок задвижки является открытие и закрытие члена затвора вдоль оси канала вертикального направления движения клапана, в трубопроводе в основном в качестве отсечной среды. Общее использование полного перекрытия или полного открытия, не для использования апоплексического потока. Широко используется в водоснабжении, металлургии и нефтедобыче, строительстве, химической промышленности, электроэнергетике и других отраслях.
Характеристики товара
- Сопротивление потоку невелико. Канал среды внутри корпуса клапана прямой, среда течет по прямой линии, сопротивление потоку небольшое.
- Открываются и закрываются с меньшими усилиями. Поскольку при открытии или закрытии направление движения затвора перпендикулярно направлению потока среды.
- Открытие и закрытие требует соответствия магнитного ключа, опираясь на магнитную силу для достижения управления клапаном закрытия частей открыть и закрыть, чтобы предотвратить клапан произвольный переключатель использования.
Параметры продукта
Модель продукта | JMZ15W-16T |
Материал корпуса клапана | латунь |
Номинальное давление | ≤1.6Mpa |
Применяемая среда | Вода, газ, нефть и т.д. |
Применяемая температура | ≤120°C |
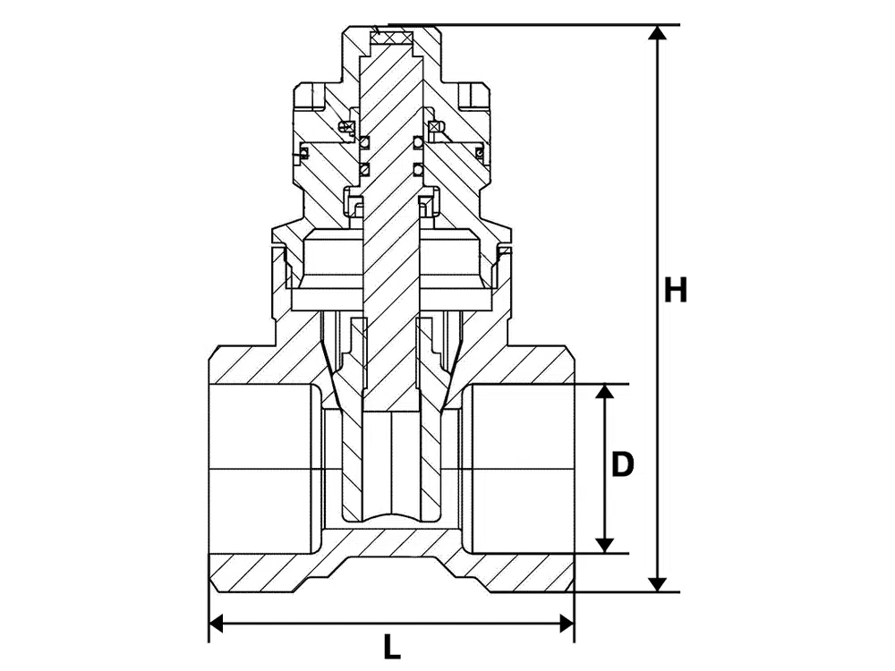
Справочник размеров изделий

проезжая часть | РАЗМЕР | L | D | H |
DN15 | 1/2 | 39 | 20 | 62 |
DN20 | 3/4 | 44 | 25 | 70 |
DN25 | 1 | 49 | 30 | 77.5 |
DN32 | 1-1/4 | 56 | 40 | 104 |
DN40 | 1-1/2 | 57 | 45 | 120 |
DN50 | 2 | 65 | 55 | 140 |















