Фланцевый шаровой кран Q41F-16P из нержавеющей стали в основном используется для отсечения или соединения сред в трубопроводе, а также может применяться для регулирования и контроля жидкостей. Подходит для воды, пара, нефти, азотной кислоты, уксусной кислоты, окислительных сред, мочевины и многих других сред. Широко используется в бумажной, нефтехимической, химической, металлургической, электроэнергетической, природоохранной, нефтяной, легкой и других промышленных отраслях в системах автоматического управления.
Характеристики продукта
- В различных клапанах сопротивление потоку шарового крана невелико, полнопроходные шаровые краны открыты, канал шара, канал корпуса клапана и соединительная труба имеют одинаковый диаметр и диаметр, среда может протекать практически без потерь.
- Шаровые краны могут поворачиваться на 90° до полного закрытия, открываться и закрываться быстро. С теми же спецификациями задвижки, шаровой кран сравнения, шаровой кран небольшой размер, легкий вес, простой в установке трубопровода.
Параметры продукта
Модель продукта | Q41F-16P |
Материал корпуса клапана | 304 нержавеющая сталь |
Номинальное давление | ≤1.6Mpa |
Применяемая среда | Вода, пар, масло |
Применяемая температура | ≤150°C |
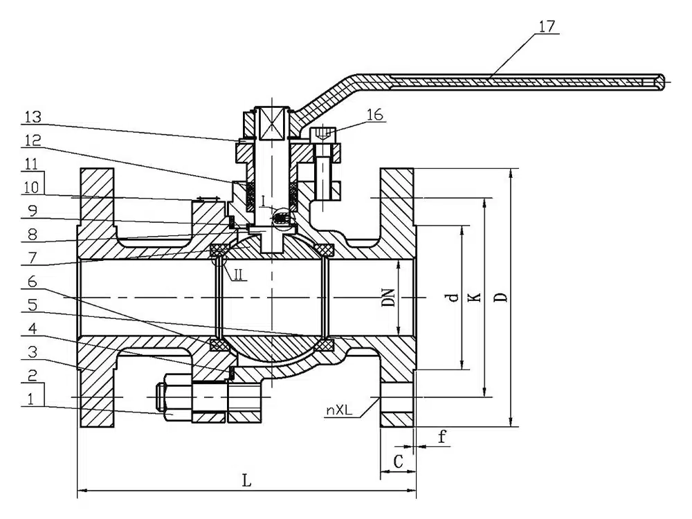
Справочник размеров изделий

проезжая часть | L | D | K | d | C | f | nXL |
DN15 | 130 | 95 | 65 | 45 | 14 | 2 | 4-14 |
DN20 | 140 | 105 | 75 | 55 | 14 | 2 | 4-14 |
DN25 | 150 | 115 | 85 | 65 | 14 | 2 | 4-14 |
DN32 | 165 | 135 | 100 | 78 | 16 | 2 | 4-18 |
DN40 | 180 | 145 | 110 | 85 | 16 | 3 | 4-18 |
DN50 | 200 | 160 | 125 | 100 | 16 | 3 | 4-18 |
DN65 | 220 | 180 | 145 | 120 | 18 | 3 | 4-18 |
DN80 | 250 | 195 | 160 | 135 | 20 | 3 | 8-18 |
DN100 | 280 | 215 | 180 | 155 | 20 | 3 | 8-18 |
DN125 | 320 | 245 | 210 | 185 | 22 | 3 | 8-18 |
DN150 | 360 | 285 | 240 | 210 | 24 | 3 | 8-23 |
DN200 | 400 | 335 | 295 | 265 | 26 | 3 | 12-23 |
DN250 | 450 | 405 | 355 | 320 | 30 | 3 | 12-23 |


















