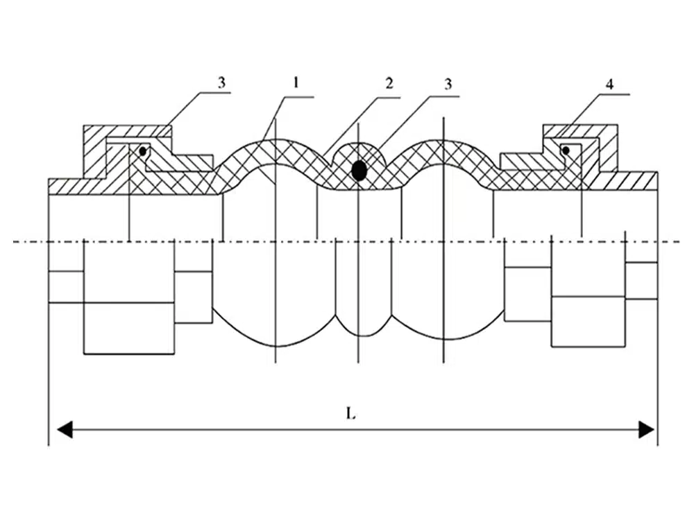
KXT-B жіпті резеңке кеңейту буыны, ішкі жіпті икемді резеңке буын немесе ішкі жіпті резеңке діріл сіңіргіш деп те аталады, жоғары серпімді, ауа өткізбейтін, ортаға және ауа райының әсеріне төзімді құбыр қосылысы. Бұл жіпті резеңке кеңейту буыны резеңкенің материалдық қасиеттерін пайдаланады. Ол жоғары беріктікке ие полиэстер талшықты арқан матасын тамаша жылу тұрақтылығы бар диагональды қабатталған конфигурацияда біріктіріп, кейін жоғары қысымды және жоғары температуралы қалыптарда вулканизациялау арқылы өндіріледі. Нәтижесінде жоғары тығыздықтағы ішкі құрылым пайда болады, ол жоғары қысымға төтеп бере отырып, тамаша эластикалық деформация көрсеткішін қамтамасыз етеді. Бұл икемді буындар діріл мен шуды азайтуға, тамаша кеңею мүмкіндігіне және орнатудың қарапайымдылығына мүмкіндік береді. Олардың сфералық дизайны мен жоғары тығыздау қасиеттері жылудың кеңеюі/қысқаруынан туындайтын құбырдың жарылуы мен қосылыстың зақымдалуын азайтып, сұйықтықтың соққысын төмендетіп, құбыр желісінің қызмет ету мерзімін ұзартып, жабдықты қорғауды жақсартады. Олар суық су, ыстық су, сығылған ауа және ұқсас орталарға кеңінен қолданылады.
Өнімнің сипаттамалары
Жоғары қысымға төзімділік, тамаша икемділік, айтарлықтай ығысу сыйымдылығы, құбырлардың дұрыс орналаспауын тиімді өтеу, жоғары діріл сіңіру, тиімді шуды азайту және қарапайым орнату сиятталады.
Қолдану аясы
Сумен жабдықтау және кәріз, айналым суы, жылыту, желдету және кондиционерлеу (HVAC), өрт қауіпсіздігі, қағаз өндіру, фармацевтика, мұнай химиясы, теңіз кемелері, сорғылар, компрессорлар және желдеткіштер үшін құбыр жүйелерінде кеңінен қолданылады. Электр станцияларында, су құбырларында, болат зауыттарында, су компанияларында және құрылыс жобаларында пайдалануға жарамды.
Өнімнің сипаттамалары
Өнім моделі | KXT-B |
Резеңке материал | NBR/EPDM |
Одақтың материалы | Иілетін құйма темірі |
Номиналды қысым | ≤1,6 МПа |
Қолданылатын орта | су, газ, мұнай өнімдері және т.б. |
Жұмыс температурасы | ≤80°C |
Өнім өлшемдеріне сілтеме

Бор | L | Ось бойымен ұзару | Ось бойымен сығылу | жанама ығысу |
DN15 | 180 | 5-6 | 22 | 22 |
DN20 | 180 | 5-6 | 22 | 22 |
DN25 | 180 | 5-6 | 22 | 22 |
DN32 | 200 | 5-6 | 22 | 22 |
DN40 | 210 | 5-6 | 22 | 22 |
DN50 | 220 | 5-6 | 22 | 22 |
DN65 | 240 | 5-6 | 22 | 22 |
DN80 | 280 | 5-6 | 22 | 22 |


















