Katup pengaman pria tertutup penuh pegas A22H / Y / W yang dimuat pegas cocok untuk suhu kerja ≤ 200 ℃ campuran udara, air, nitrogen dan hidrogen dan peralatan atau pipa media lainnya, sebagai perangkat perlindungan tekanan berlebih.
Fitur Produk
- Struktur bukaan penuh dengan perpindahan yang besar.
- Sambungan berulir untuk kemudahan pemasangan.
- Ukuran kecil dan ekonomis.
Parameter Produk
Model Produk | A22H-16C |
Bahan badan katup | baja tuang |
Tekanan nominal | ≤1.6Mpa |
Media yang berlaku | Udara, air, campuran nitrogen-hidrogen, dan media lainnya |
Suhu yang berlaku | ≤200°C |
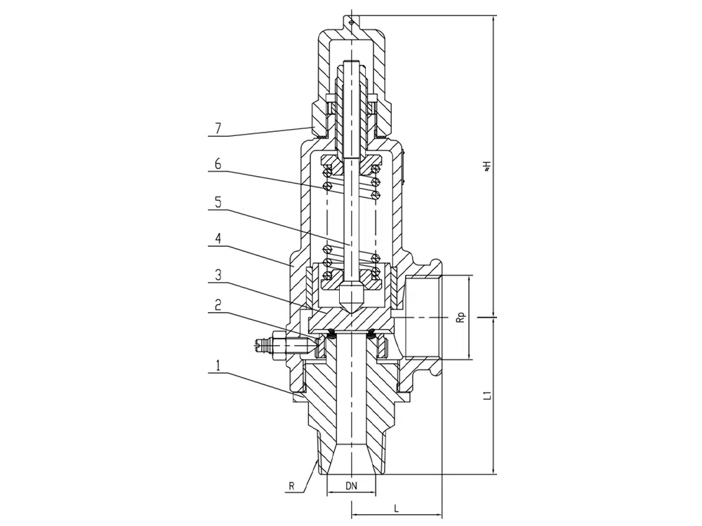
Referensi Ukuran Produk

jalan raya | melakukan | R | G | L | L1 | ≈H |
DN15 | 10 | 1/2 | 3/4 | 37 | 65 | 140 |
DN20 | 12 | 3/4 | 1 | 40 | 70 | 150 |
DN25 | 15 | 1 | 1-1/4 | 45 | 78 | 160 |
DN32 | 20 | 1-1/4 | 1-1/2 | 60 | 90 | 210 |
DN40 | 25 | 1-1/2 | 2 | 67 | 105 | 225 |
DN50 | 32 | 2 | 2-1/2 | 76 | 115 | 235 |
DN65 | 40 | 2-1/2 | 3 | 110 | 145 | 370 |
DN80 | 50 | 3 | 4 | 110 | 145 | 410 |














